lemon-mirror:
Home >> Isuzu >> 1989 >> Impulse 2.0 F, Automatic >> Repair and Diagnosis >> Engine Performance >> System >> Tests W/Codes >> Diagnostic Circuit Check >> Code 71 - Throttle Position Sensor

Code 71 - Throttle Position Sensor

Fig 1: Flow Chart - Code 71, Throttle Position Sensor
G122299Courtesy of ISUZU MOTOR CO.
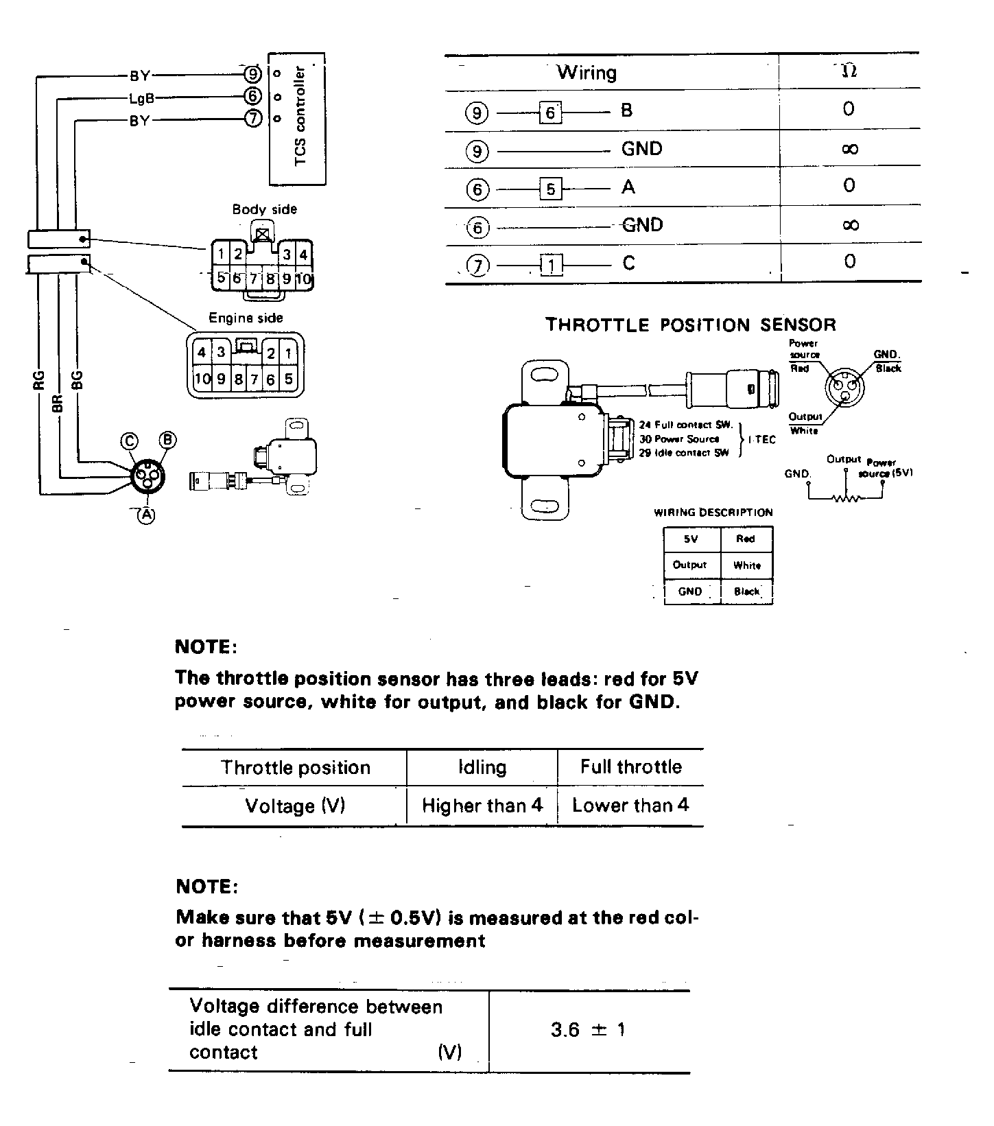
Fig 2: Throttle Position Circuit & Pin Continuities
G122298Courtesy of ISUZU MOTOR CO.