lemon-mirror:
Home >> Isuzu >> 1990 >> Impulse Automatic >> Repair and Diagnosis >> Body & Frame >> Power Door Locks >> Component Tests >> Door Lock Control Unit

Door Lock Control Unit

Receiving the lock or unlock signal from the door lock switch, the door lock control unit allows the current to flow to the door lock actuator on the passenger side for .5-.9 second to lock or unlock the door lock mechanism.

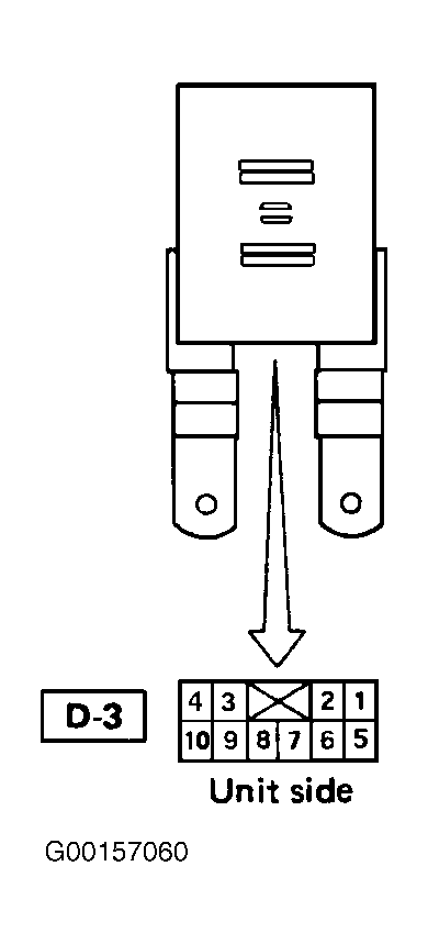
  1. Check continuity between door lock control unit terminals.
  2. Connect the battery positive voltage to the door lock control unit terminal No. 4 (Light Green wire) and the negative side to terminal No. 8 (Black wire). See Fig 1 . Continuity should exist between terminal No. 1 (Yellow/Red wire) and terminal No. 8 (Black wire). Continuity should also exist between terminal No. 6 (Yellow/Blue wire) and terminal No. 8 (Black wire). If readings are not as specified, replace door lock control unit. See DOOR LOCK CONTROL UNIT  under REMOVAL & INSTALLATION.
  3. Connect terminal No. 5 (Yellow/Black wire) to ground. Power supply output voltage should occur at terminal No. 1 (Yellow/Red wire) for approximately 0.5-0.9 seconds. If operation is not as specified, replace door lock control unit.
  4. Disconnect terminal No. 5 (Yellow/Black wire) from ground and connect terminal No. 2 (Yellow/Green wire) to ground. Power supply output voltage should occur at terminal No. 6 (Yellow/Blue wire) for approximately 0.5-0.9 seconds. If operation is not as specified, replace door lock control unit.
Fig 1: Identifying Connector Terminals D-3 (Unit Side)
G00157060Courtesy of ISUZU MOTOR CO.