lemon-mirror:
Home >> Isuzu >> 1996 >> Hombre S >> Repair and Diagnosis >> Engine Performance >> System >> Engine Controls - Tests W/Codes >> Circuit Testing >> DTC P0121 - TP Sensor System Performance >> Notes

DTC P0121 - TP Sensor System Performance: Notes

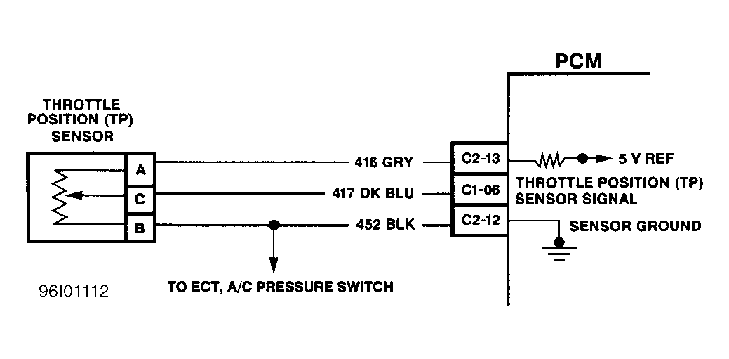
Fig 1: TP Sensor Circuit (Hombre)
G96I01112Courtesy of ISUZU MOTOR CO.