lemon-mirror:
Home >> Isuzu >> 1997 >> Oasis LS >> Repair and Diagnosis (Single Page) >> Engine Mechanical >> Electric Cooling Fans >> Component Tests >> Fan Control Module Testing

Fan Control Module Testing

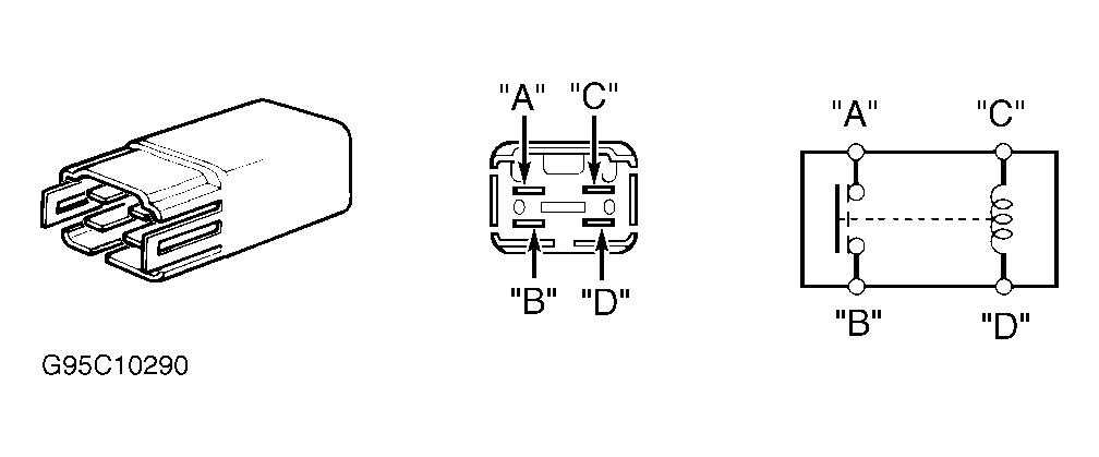
Using a DVOM, backprobe at appropriate terminal of fan control module harness connector and check for appropriate output. See Fig 1 or Figure .

Fig 1: Testing Fan Control Module
G94D46675Courtesy of AMERICAN HONDA MOTOR CO., INC.