lemon-mirror:
Home >> Isuzu >> 1997 >> Rodeo LS, 2.6 E >> Repair and Diagnosis >> Engine Performance >> System >> Engine Controls - Tests W/Codes - 2.6L >> Circuit Testing >> DTC P0106 - Map Sensor System Performance >> Notes

DTC P0106 - Map Sensor System Performance: Notes

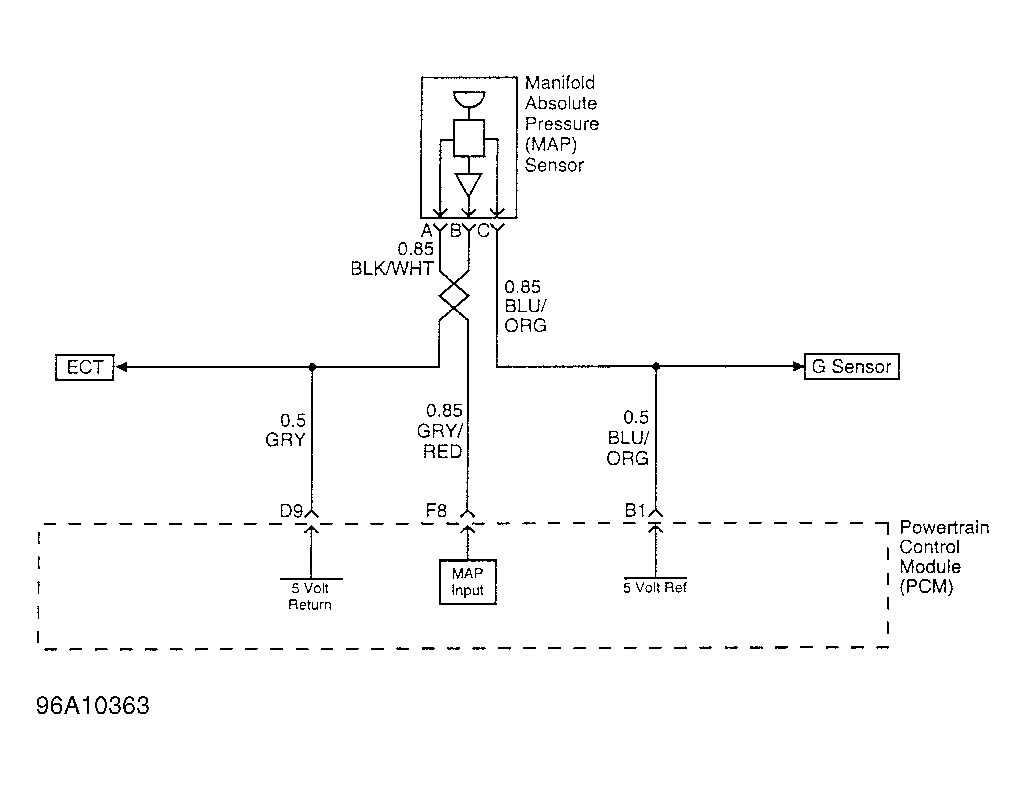
Fig 1: MAP Sensor Circuit
G96A10363Courtesy of ISUZU MOTOR CO.