lemon-mirror:
Home >> Isuzu >> 1997 >> Rodeo LS, 2.6 E >> Repair and Diagnosis >> Engine Performance >> System >> Engine Controls - Tests W/Codes - 2.6L >> Circuit Testing >> DTC P0121 - TP Sensor System Performance >> Notes

DTC P0121 - TP Sensor System Performance: Notes

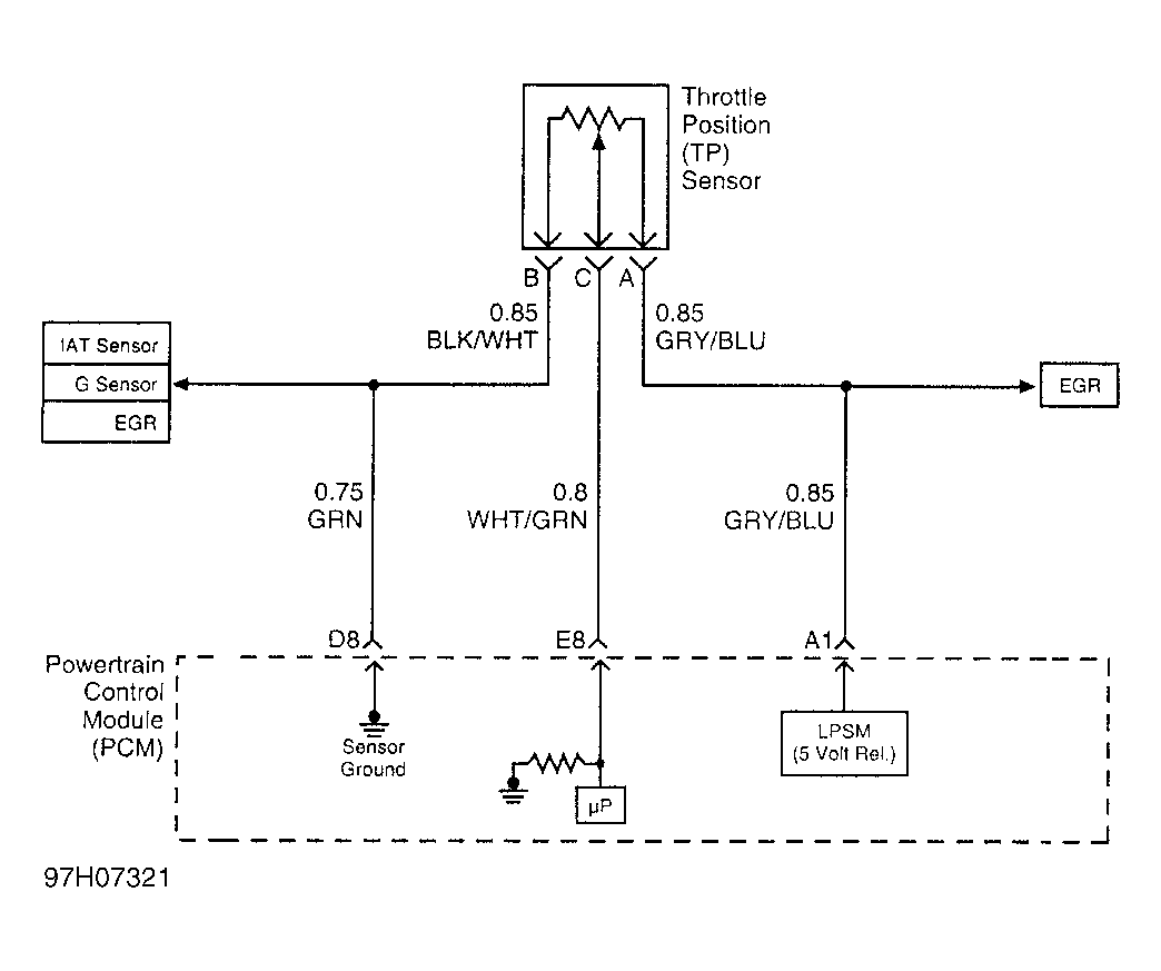
Fig 1: TP Sensor Circuit
G97H07321Courtesy of ISUZU MOTOR CO.