lemon-mirror:
Home >> Isuzu >> 2000 >> Trooper LS, RWD >> Repair and Diagnosis >> Body & Frame >> Windows >> Body Structure >> Cross Beam Assembly >> Removal

Cross Beam Assembly: Removal

  1. Disconnect battery ground cable.
  2. Remove instrument panel assembly.
  3. Remove side support bracket assembly (LH/RH).
    • Remove the 4 fixing bolts on both sides.
  4. Remove cross beam center bracket
    • Remove 2 fixing nuts.
  5. Remove instrument panel center bracket.
    • Disconnect the PCM and EBCM connector.
    • Remove the DERM (SRS) with 3 fixing nuts.
      CAUTION: For precautions on installation or removal of SRS air bag system, refer to AIR BAG SAFETY PRECAUTIONS .
    • Remove the 2 fixing nuts (upper) and the 4 fixing bolts (lower).
    Fig 1: Removing Instrument Panel Center Bracket
    G02801113Courtesy of ISUZU MOTOR CO.
  6. Remove steering column fixing bolts.
    • Remove 2 fixing bolts.
    Fig 2: Removing Steering Column Fixing Bolts
    G02801114Courtesy of ISUZU MOTOR CO.
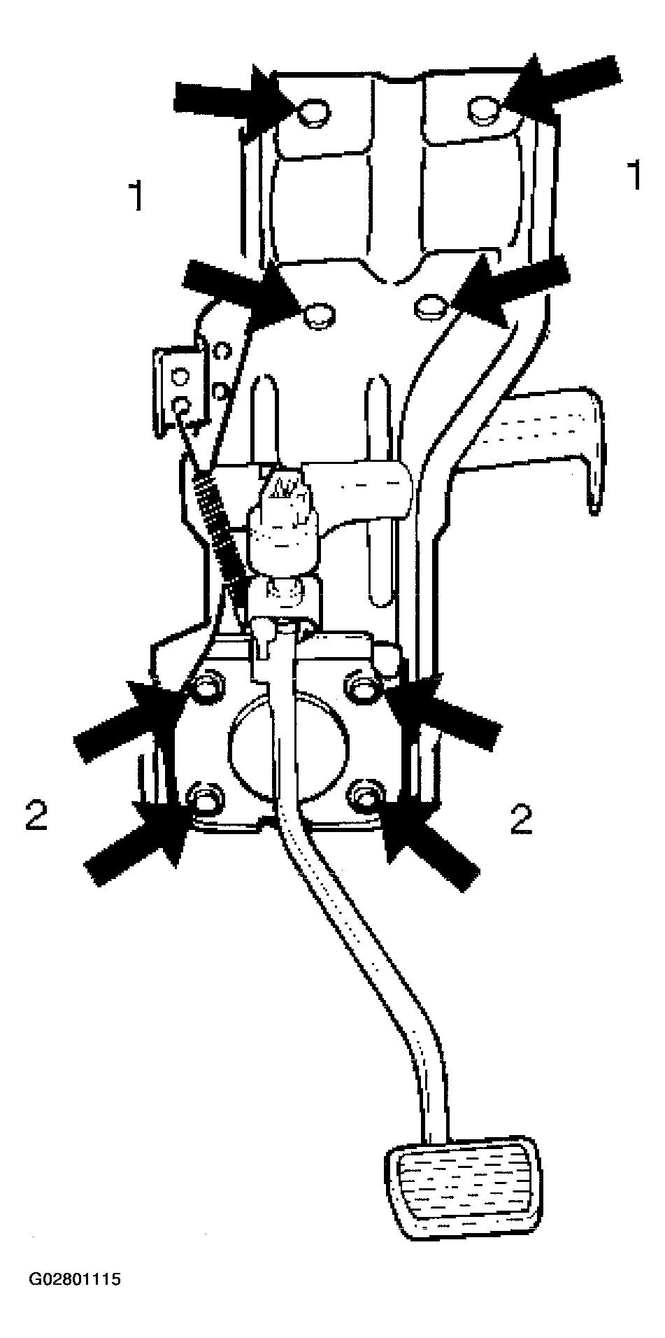
  7. Remove brake pedal mounting bracket assembly.
    • Disconnect the 2 brake pedal mounting bracket assembly fixing nuts, and remove the anti-theft controller.
    • Disconnect the brake pedal link and the brake switch, and remove the 4 fixing bolts and the nuts on the bracket.
    Fig 3: Removing Brake Pedal Mounting Bracket Assembly
    G02801115Courtesy of ISUZU MOTOR CO.
  8. Remove steering support bracket assembly.
    • Remove the 2 fixing bolts (upper side) (1) and the 3 fixing nuts (lower side) (2).
    Fig 4: Removing Steering Support Bracket Assembly
    G02801116Courtesy of ISUZU MOTOR CO.
  9. Remove cross beam assembly.
    • Disconnect the harness clips from the crossbeam assembly, and remove 2 fixing bolts on both sides and 2 fixing nuts in the center.