lemon-mirror:
Home >> Isuzu >> 2000 >> Trooper LS, RWD >> Repair and Diagnosis >> Body & Frame >> Windows >> Body Structure >> Headlining >> Removal

Body Structure: Headlining: Removal

  1. Disconnect the battery ground cable.
  2. Remove interior trim panels.
    • Refer to FRONT DOOR TRIM PANEL or REAR DOOR TRIM PANEL .
  3. Remove dome light.
    • Remove the dome light lens and the fixing screws.
    • Disconnect the dome light connectors.
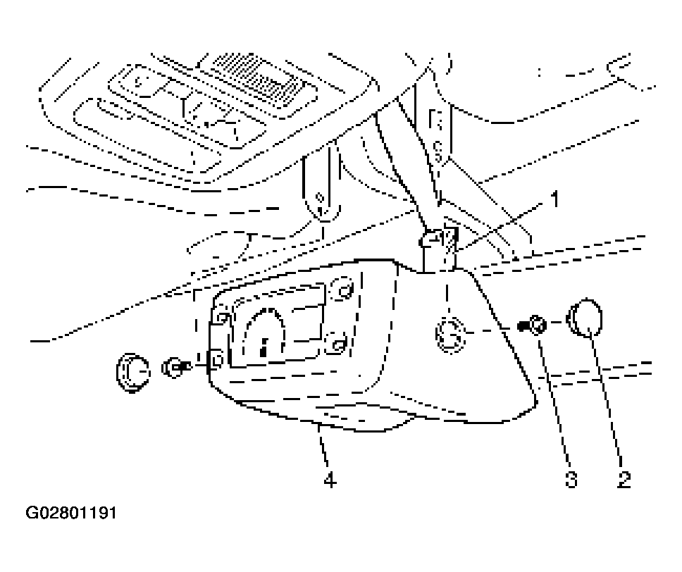
  4. Remove multi meter (4).
    • Remove two caps (2), two screws (3) and disconnect the connector (1).
    Fig 1: Removing Multi Meter
    G02801191Courtesy of ISUZU MOTOR CO.
  5. Remove rear view mirror.
    • Remove the rubber stopper (1).
    • Pry off the mirror stay cover (2) and remove 3 screws.
    Fig 2: Removing Rear View Mirror
    G02801192Courtesy of ISUZU MOTOR CO.
  6. Remove map light/sun roof switch.
    • Pry the map light clip free from the map light/sun roof switch bracket and disconnect the connector.
    Fig 3: Removing Map Light/Sun Roof Switch
    G02801193Courtesy of ISUZU MOTOR CO.
  7. Remove sunvisors.
    • Remove the fixing screw and turn the sunvisor holder (1) to remove it.
    • Disconnect the vanity mirror illumination connector.
    Fig 4: Removing Sunvisors
    G02801194Courtesy of ISUZU MOTOR CO.
  8. Remove sun roof finisher (W/Sun roof).
  9. Remove headlining.
    • Remove the headlining fixing clips.