lemon-mirror:
Home >> Isuzu >> 2000 >> Trooper LS, RWD >> Repair and Diagnosis >> Body & Frame >> Windows >> Body Structure >> Instrument Panel Assembly >> Removal

Instrument Panel Assembly: Removal

CAUTION: For precautions on installation or removal of SRS-air bag system, refer to AIR BAG SAFETY PRECAUTIONS .
  1. Disconnect the battery ground cable.
  2. Remove front console assembly.
    • Remove the 4 fixing screws and disconnect the switch connectors.
  3. Remove lower cluster assembly.
    • Remove the 3 fixing screws (1) in order to disconnect the cigarette lighter (3) and the illumination (2) connectors.
    Fig 1: Removing Lower Cluster Assembly
    G02801101Courtesy of ISUZU MOTOR CO.
  4. Remove glove box.
    • Remove the 2 fixing screws.
    Fig 2: Removing Glove Box
    G02801102Courtesy of ISUZU MOTOR CO.
  5. Remove instrument panel passenger lower cover assembly.
    • Remove the 7 fixing screws (1) and 1 clip (2).
    Fig 3: Removing Instrument Panel Passenger Lower Cover Assembly
    G02801103Courtesy of ISUZU MOTOR CO.
  6. Remove passenger knee bolster reinforcement assembly.
    • Remove the 4 fixing bolts (2) and 4 nuts (1).
    Fig 4: Removing Passenger Knee Bolster Reinforcement Assembly
    G02801104Courtesy of ISUZU MOTOR CO.
  7. Remove instrument panel driver lower cover assembly.
    • Remove the engine hood opener fixing screws.
    • Remove the 2 fixing screws (2), 1 fixing bolt (3), and 1 clip (4). Pull out the fasteners at the 4 positions (1).
    Fig 5: Removing Instrument Panel Driver Lower Cover Assembly
    G02801105Courtesy of ISUZU MOTOR CO.
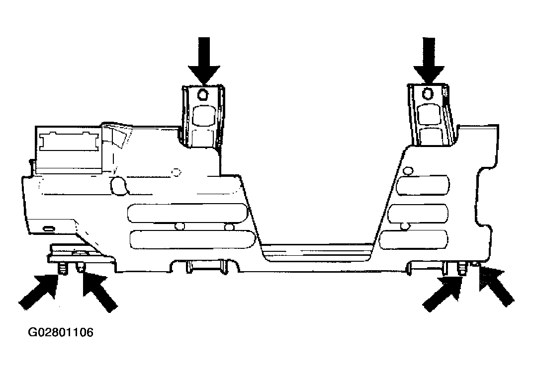
  8. Remove driver knee bolster assembly.
    • Remove the 6 fixing nuts.
    Fig 6: Removing Driver Knee Bolster Assembly
    G02801106Courtesy of ISUZU MOTOR CO.
  9. Remove front defroster grille.
    • Pry 8 claws on the front side toward you side (room side) and raise the grille upward.
  10. Remove instrument panel assembly.
    • Remove the 2 fixing bolts on the SRS adjust bracket and the cross beam under the passenger inflator module.
      CAUTION: For precautions on installation or removal of SRS air bag system, refer to AIR BAG SAFETY PRECAUTIONS .
      Fig 7: Removing Bolts On SRS Adjust Bracket And Cross Beam Under Passenger Inflator Module
      G02801107Courtesy of ISUZU MOTOR CO.
    • Disconnect the 3 air conditioner control cables on the unit side.
    • Remove the instrument harness connectors (5 connectors on the drivers side and 3 connectors on the passenger side), the passenger inflator module connector, the radio antenna cable plug, and the ground cable fixing bolt on the center bracket.
    • Remove the 4 bolts (4) and the 2 nuts (3) under the instrument panel assembly, and the upper left and the upper right bolts (2) and the center nut (1).
    Fig 8: Removing Instrument Panel Assembly
    G02801108Courtesy of ISUZU MOTOR CO.
  11. Remove passenger inflator module.
    • From the back of the instrument panel, remove the 4 fixing nuts (2) on the passenger inflator module (3) and the 2 fixing nuts (1) and washers on the support bracket (4), then disengage the 2 clips in order to remove the passenger inflator module.
    Fig 9: Removing Passenger Inflator Module
    G02801109Courtesy of ISUZU MOTOR CO.
  12. Remove instrument panel cluster assembly.
    • Remove the 5 fixing screws (2) and pull the main unit toward you and remove the clips at the 4 positions (1). Disconnect the switch connectors.
    Fig 10: Removing Instrument Panel Cluster Assembly
    G02801110Courtesy of ISUZU MOTOR CO.
  13. Remove meter assembly.
    • Remove the 4 meter assembly fixing screws and disconnect the meter harness connectors.
    Fig 11: Removing Meter Assembly
    G02801111Courtesy of ISUZU MOTOR CO.
  14. Remove control lever assembly/control panel assembly.
  15. Remove radio assembly.
    • Remove 2 fixing screws.
  16. Remove vent duct assembly.
    • Remove 5 fixing screws.
  17. Remove instrument harness assembly.
    • Remove the 4 fixing screws, fasteners at the 4 positions and the clips at the 7 positions.
  18. Remove side defroster grille.
NOTE: For the order of removal steps in which each items contained in the instrument panel assembly are removed individually, refer to the chart.