lemon-mirror:
Home >> Isuzu >> 2000 >> Trooper LS, RWD >> Repair and Diagnosis >> Body & Frame >> Windows >> Body Structure >> Roof Moulding >> Installation

Roof Moulding: Installation

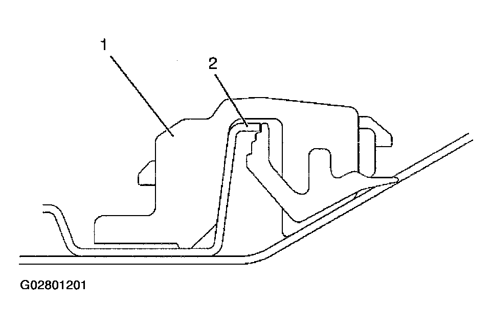
  1. Install the roof moulding clip (1).
    • Install the clips to the specified positions on the roof panel flange (2).
    Fig 1: Installing Roof Moulding Clip
    G02801201Courtesy of ISUZU MOTOR CO.
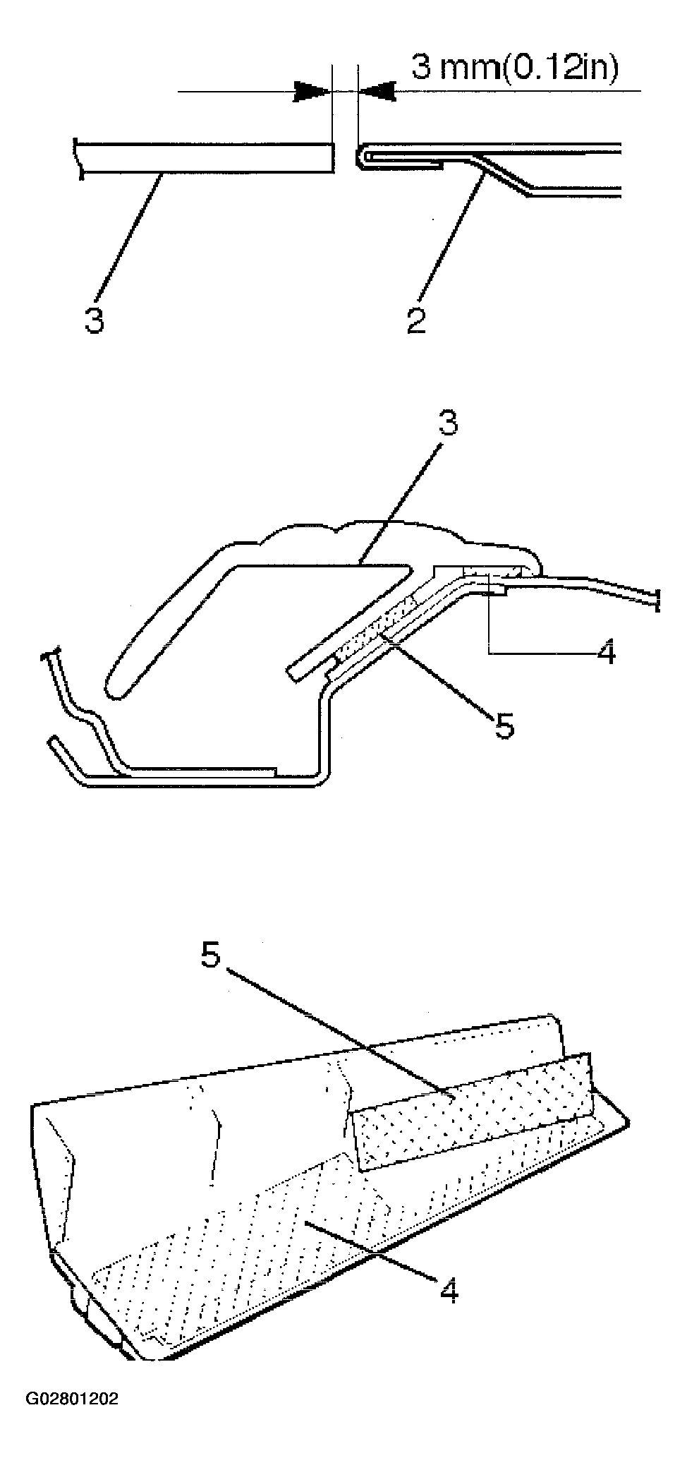
  2. Install the roof end moulding (3).
    • Clean the body panel where the roof end moulding is installed.
    • Install the roof end moulding and the rear air deflector (2) so that the installation clearance between them is within the specified values. Securely fix it with the adhesive tape (4) and sealing adhesive (5).
    Fig 2: Installing Roof End Moulding
    G02801202Courtesy of ISUZU MOTOR CO.
  3. Install the roof moulding (9).
    • Assemble the windshield side moulding upper clip (8) to the roof panel with the clip positioning rib (6) (oblique lines portion) attached to the roof panel flange (7). Assemble the roof moulding (9) while you attach the front edge portion of the roof molding to the windshield side moulding (10).
    Fig 3: Installing Roof Moulding Clip
    G02801203Courtesy of ISUZU MOTOR CO.