lemon-mirror:
Home >> Isuzu >> 2002 >> Axiom Base, RWD >> Repair and Diagnosis >> Body & Frame >> Windows >> Body Structure >> Windshield >> Parts Location >> Installation

Parts Location: Installation

To install, follow the removal steps in the reverse order, noting the following points:

  1. Clean the bonding surfaces of both the windshield and body panel with a soft rag and white gasoline.
  2. Install the spacer.
    • Attach spacers in six locations as shown in the figure.
    • Always use new spacer.
      Fig 1: Installing Spacer On Windshield
      G02809125Courtesy of ISUZU MOTOR CO.
  3. Install the windshield upper molding.
    • Peel off the tear-away paper from the windshield upper molding, and start applying it with one end of the glass and cut away the surplus at the other end of the glass for length adjustment.
    • Always use new upper molding.
  4. Temporary install the windshield support.
  5. Apply the primer to the windshield and body panel.
    • Apply the primer (3) (Sun star # 435-40 or equivalent) to the windshield side bonding surface as shown in the figure.
    • Apply the primer (Sun star # 435-95 or equivalent) to the body side bonding surface.
NOTE: Apply an adhesive 3 minutes or more but within 24 hours after the application of primer. If more than 24 hours have passed, reapply primer.

Primer should be handled as following:

  1. Use the primer manufactured 3 months or less ago and having been kept in an refrigerator.
  2. Wipe off primer-stains on positions other than requires application.
  3. Stir the primer for a minute or more before use.
    Fig 2: Identifying Area Of Windshield Primer
    G02809126Courtesy of ISUZU MOTOR CO.
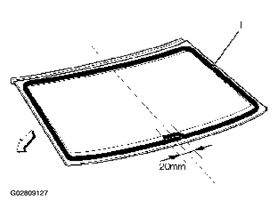
  4. Apply the adhesive (1) to the windshield.
    • After drying primer completely, apply a sealing adhesive (Sun star # 555 or equivalent) along the edge of the glass so that the sealing adhesive has a 20 mm (0.79 in) junction at middle of the base of the glass.
Fig 3: Identifying Dimension Of Sealing Adhesive Of Windshield
G02809127Courtesy of ISUZU MOTOR CO.
NOTE: Apply an adhesive 3 minutes or more but within 24 hours after the application of primer. If more than 24 hours have passed, reapply primer.

Adhesive should be handled as follows:

  1. Use the adhesive manufactured 3 months or less ago.
  2. Wipe off adhesive-stains on positions other than requires application.
  3. Install the windshield.
    • Set the windshield with sealing adhesive applied to entire circumference in the body panel. Specifically, adjust windshield support with the upper molding making contact with the body panel, press the glass, and tighten the windshield support.
      NOTE: Affix the glass within 5 minutes of application.
      Fig 4: Installing Windshield
      G02809128Courtesy of ISUZU MOTOR CO.
  4. Install the front cowl cover.
  5. Install side molding.
    • Use alcohol wipe or equivalent cleaner with soft cloth to wipe away any excess adhesive.
    • Cure the bonding at a temperature of 20°C - 30°C (68°F - 86° F) for 24 hours.
    • Check the windshield for any signs of water leaks.
      Fig 5: Checking Windshield For Any Signs Of Water Leaks
      G02809129Courtesy of ISUZU MOTOR CO.
  6. Install windshield wiper arm.