lemon-mirror:
Home >> Isuzu >> 2002 >> Trooper LS, RWD >> Repair and Diagnosis >> Electrical >> Charging Systems >> Generators & Regulators >> Bench Testing >> Brush

Bench Testing: Brush

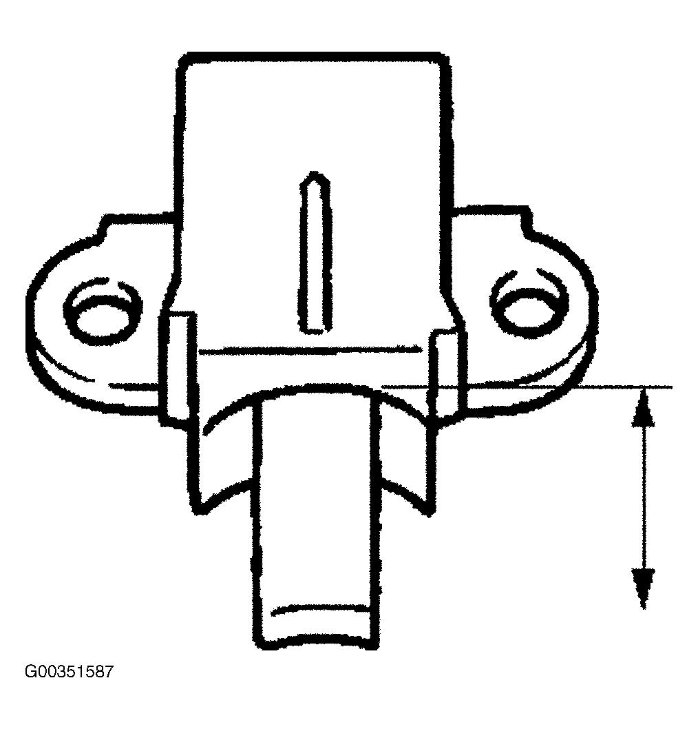
Measure the length of both brushes. See Fig 1 . If either brush is more than the service limit, replace the brush assembly.

Fig 1: Identifying Generator Brushes
G00351587Courtesy of ISUZU MOTOR CO.