lemon-mirror:
Home >> Isuzu >> 2002 >> Trooper LS, RWD >> Repair and Diagnosis >> Electrical >> Starters >> Overhaul >> Starter >> Disassembly

Repair and Diagnosis: Electrical: Starters: Overhaul: Starter: Disassembly

  1. Loosen the nut (1) on terminal (M) of magnetic switch and disconnect the connector cable. See Fig 1 .
  2. Remove bolt (2 pcs) (2).
  3. Remove magnetic switch (5).
  4. Remove dust cover (4).
  5. Remove torsion spring bolts. Remove magnetic switch assembly.
  6. Remove torsion spring (3) from magnetic switch assembly (5). See Fig 2 .
  7. Remove screw (2 pcs) (8).
  8. Remove through bolt (2 pcs) (7).
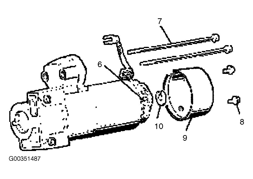
  9. Remove screws and through bolts, then rear cover (9) and thrust washer (10)
  10. Remove brush holder (6). See Fig 3 .
  11. Raise a brush spring to detach brushes (4 pcs) from the commutator face and pull of the brush holder (12) and brush (11). See Fig 4 .
  12. Remove yoke assembly (14).
  13. Remove armature (15).
  14. Pull off the yoke assembly, then remove armature, washer and center bracket (A) (13). See Fig 5 .
    NOTE: In disassembling the yoke assembly, hold the armature and pull off slowly the yoke assembly. Because of strong magnetic force, avoid placing a metallic part near armature.
  15. Remove dust cover (17).
  16. Remove a dust cover and shift lever (16) from the gear case. See Fig 6 .
  17. Remove ball bearing (19).
  18. Remove bearing cover (20).
  19. Remove a ball bearing and bearing cover from the gear case (18). See Fig 7
  20. Internal gear (21).
  21. Remove internal gear and planet gear (3) (22). See Fig 8 .
  22. Remove an E-ring (23) from the pinion shaft using a flat blade screwdriver. See Fig 9 .
  23. Holding the pinion shaft, push pinion toward the center bracket and turn the pinion clockwise or counterclockwise by one tooth of spline, then pull off the pinion.
  24. Remove thrust washer (24).
  25. Remove center bracket.
  26. Remove pinion shaft. See Fig 10 .
Fig 1: Loosening Nut On Terminal (M) Of Magnetic Switch
G00351475Courtesy of ISUZU MOTOR CO.
Fig 2: Removing Torsion Spring From Magnetic Switch
G00351519Courtesy of ISUZU MOTOR CO.
Fig 3: Removing Brush holder
G00351487Courtesy of ISUZU MOTOR CO.
Fig 4: Pulling Off Brush Holder And Brush
G00351544Courtesy of ISUZU MOTOR CO.
Fig 5: Removing Armature Washer And Center Bracket
G00351548Courtesy of ISUZU MOTOR CO.
Fig 6: Removing Dust Cover & Shift Lever From Gear Case
G00351552Courtesy of ISUZU MOTOR CO.
Fig 7: Removing Ball Bearing & Bearing Cover From Gear Case
G00351556Courtesy of ISUZU MOTOR CO.
Fig 8: Removing Internal Gear & Planet Gear
G00351560Courtesy of ISUZU MOTOR CO.
Fig 9: Removing E-Ring From The Pinion Shaft
G00351564Courtesy of ISUZU MOTOR CO.
Fig 10: Removing Pinion Shaft
G00351568Courtesy of ISUZU MOTOR CO.