lemon-mirror:
Home >> Isuzu >> 2003 >> Axiom Base, RWD >> Repair and Diagnosis >> Engine Mechanical >> Exhaust >> General Description >> Notes

Engine Mechanical: Exhaust: General Description: Notes

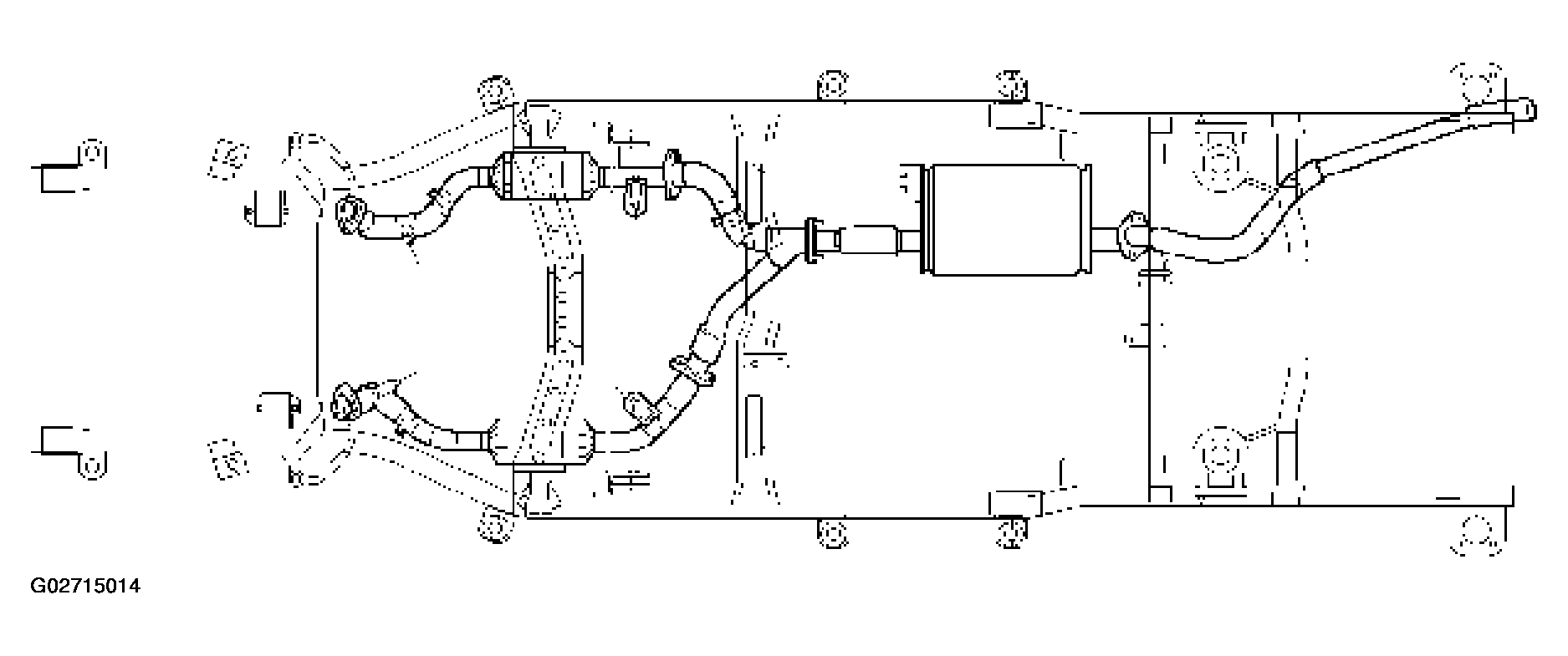
Fig 1: General Description Of Exhaust System
G02715014Courtesy of ISUZU MOTOR CO.

When inspecting or replacing exhaust system components, make sure there is adequate clearance from all points on the underbody to prevent overheating the floor pan and possible damage to the passenger compartment insulation and trim materials.

Check complete exhaust system and nearby body areas and rear compartment lid for broken, damaged, missing or mispositioned parts, open seams, holes, loose connections or other deterioration which could permit exhaust fumes to seep into the rear compartment or passenger compartment. Dust or water in the rear compartment may be an indication of a problem in one of these areas. Any faulty areas should be corrected immediately.