lemon-mirror:
Home >> Isuzu >> 2003 >> Axiom Base, RWD >> Repair and Diagnosis >> Engine Performance >> Fuel Delivery >> Engine Fuel >> General Description

Engine Fuel: General Description

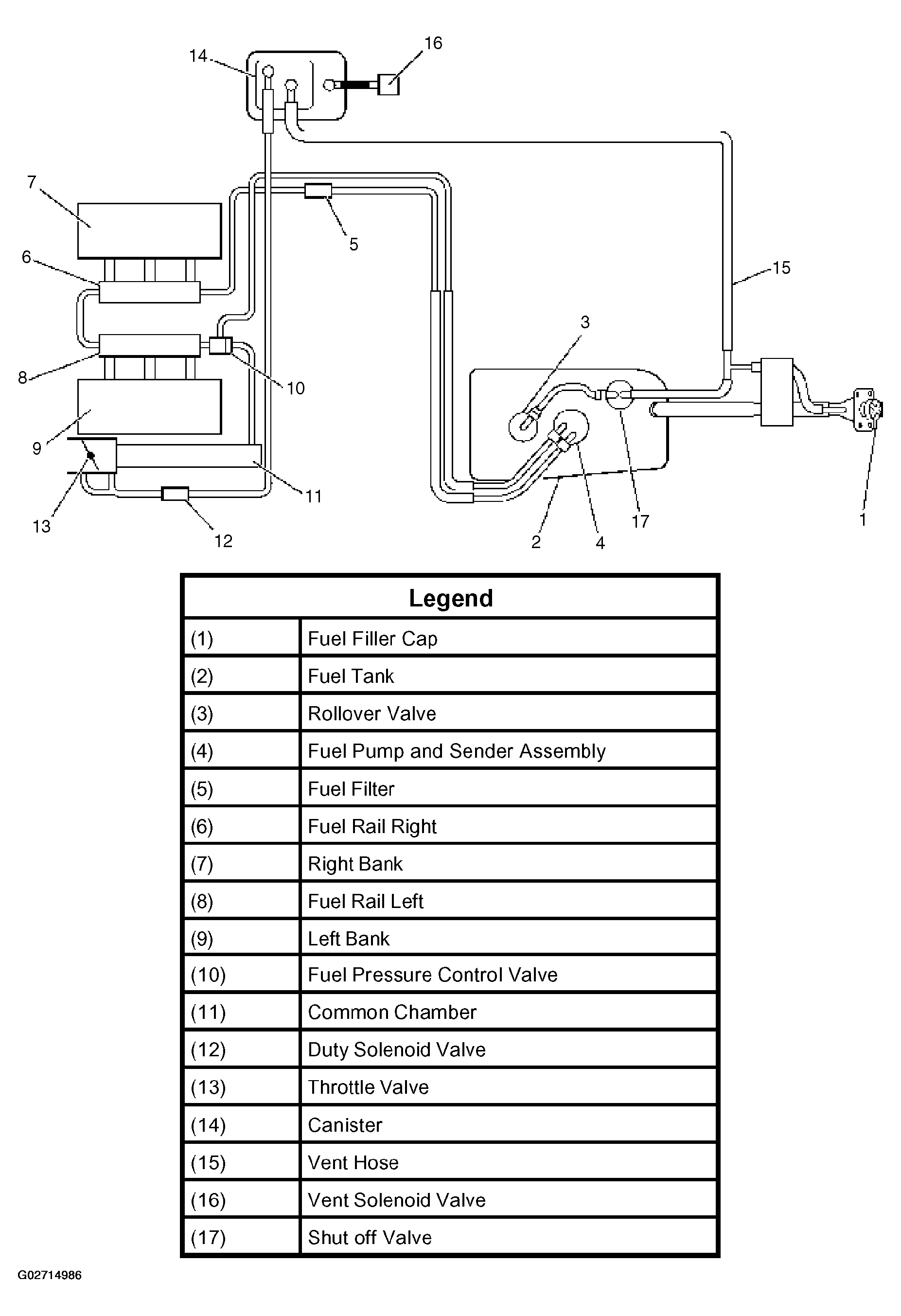
Fig 1: View Of Fuel Supply System
G02714986Courtesy of ISUZU MOTOR CO.

When working on the fuel system, there are several things to keep in mind:

All gasoline engines are designed to use only unleaded gasoline. Unleaded gasoline must be used for proper emission control system operation.

Its use will also minimize spark plug fouling and extend engine oil life. Using leaded gasoline can damage the emission control system and could result in loss of emission warranty coverage.

The vapor pressure sensor and vent solenoid valve for vapor pressure sensor are used to detect abnormalities in the evaporative emission control system.

The PCM decides whether there is an abnormality in the evaporative emission control system based on vapor pressure sensor signal.