lemon-mirror:
Home >> Isuzu >> 2004 >> Axiom Base, RWD >> Repair and Diagnosis >> Steering >> Power Steering >> Power-Assisted Steering System >> Steering Column >> Inspection >> Column Capsule

Column Capsule

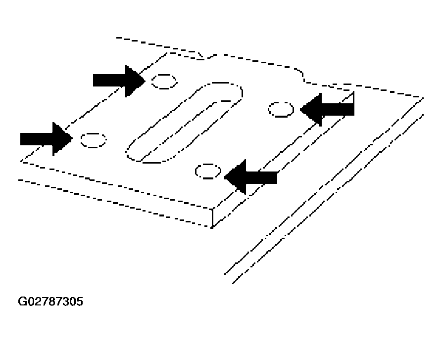
Check capsules on steering column bracket assembly; all must be securely seated in bracket slots and checked for any loose conditions when pushed or pulled by hand.

Fig 1: Checking Capsules On Steering Column Bracket Assembly
G02787305Courtesy of ISUZU MOTOR CO.

Check clearance between capsule and bracket. If must be within 1mm (0.039 in).

Fig 2: Checking Clearance Between Capsule & Bracket
G02787306Courtesy of ISUZU MOTOR CO.