lemon-mirror:
Home >> Isuzu >> 2004 >> Axiom Base, RWD >> Repair and Diagnosis >> Transmission >> Automatic Trans >> Automatic Transmission >> Transmission Control Module (TCM) >> Notes

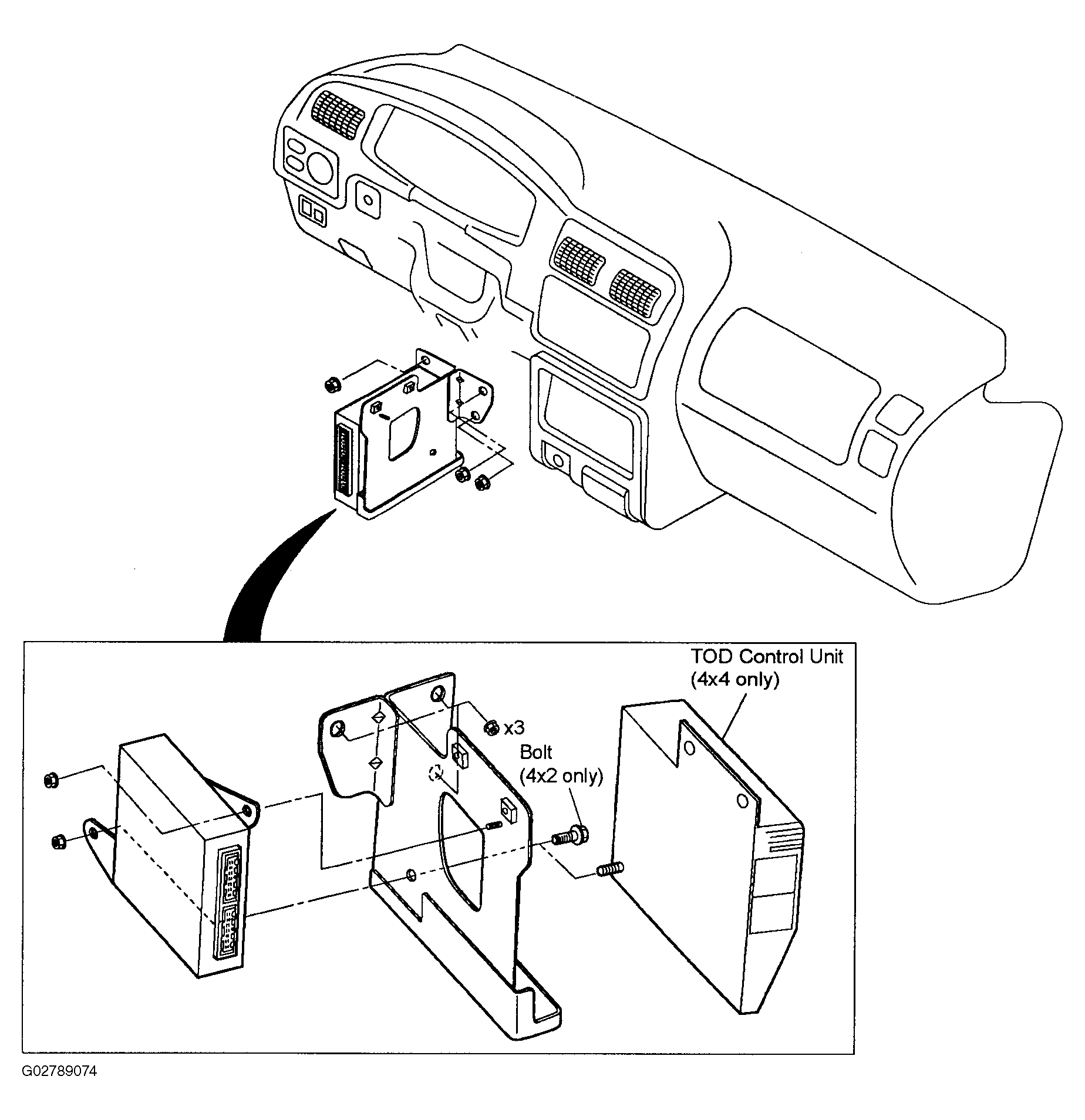
Transmission Control Module (TCM): Notes

Fig 1: Identifying Transmission Control Module
G02789074Courtesy of ISUZU MOTOR CO.