lemon-mirror:
Home >> Isuzu >> 2004 >> Axiom Base, RWD >> Repair and Diagnosis >> Transmission >> Transfer Case >> Transfer Case Tod >> Transfer Cover Assembly >> Reassembly

Transfer Cover Assembly: Reassembly

Transfer cover oil seal replacement

  1. Remove the oil seal from the transfer cover assembly.
  2. Apply oil to the circumference of the new oil seal and fill the lip with grease (BESCO L2 or its equivalent).
  3. Using the oil seal installer J-42804, install the oil seal to the transfer cover assembly
    Fig 1: Installing Oil Seal To Transfer Cover Assembly
    G02787736Courtesy of ISUZU MOTOR CO.

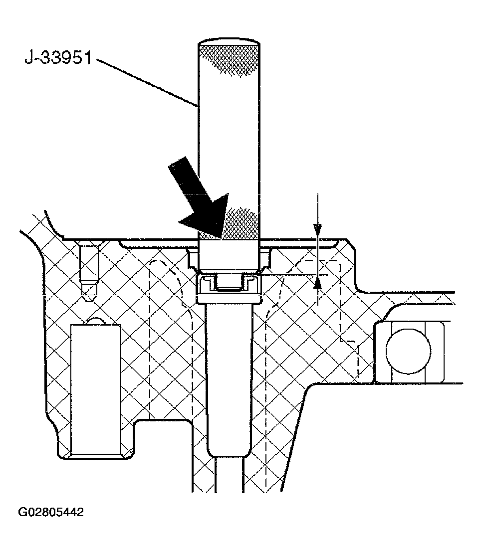
    Shift shaft oil seal replacement 

  4. Remove the oil seal from the transfer cover assembly.
  5. Apply oil the circumference of the new oil seal.
  6. Using the oil seal installer J-33951, install the oil seal to the transfer cover assembly.

    The drive in depth must be 9.4 . 10.4 mm (0.370 . 0.409 in). The knurled end of the installer (indicated by the arrow) must be flush with the oil seal installation surface.

    NOTE: Use care to prevent tilt to oil seal when installing oil seal to the case.
    Fig 2: Installing Oil Seal To Transfer Cover Assembly
    G02805442Courtesy of ISUZU MOTOR CO.
  7. Install the ball bearing of the front output shaft to the transfer cover.
  8. Install the speed gear and tone wheel.
  9. Install the ball bearing to the transfer cover.
  10. Using snap ring pliers, install the snap ring to the transfer cover.
    NOTE: The snap ring must be fully inserted into the transfer cover snap ring groove.
    Fig 3: Installing Snap Ring To Transfer Cover
    G02787762Courtesy of ISUZU MOTOR CO.
  11. Install the coil assembly to the transfer cover and tighten the set nuts (3 pieces) to the specified torque.

    Torque: 10 N.m (87 lb in) 

  12. Install the connector to the harness terminal of the coil assembly.
Fig 4: Installing Connector To Harness Terminal Of Coil Assembly
G02787763Courtesy of ISUZU MOTOR CO.