lemon-mirror:
Home >> Isuzu >> 2007 >> Ascender RWD >> Repair and Diagnosis >> Body & Frame >> Mirrors >> Mirror System >> Component Locator >> Mirror Component Views

Mirror Component Views

Fig 1: Front of Vehicle View (Z88/Z89)
GM1550918Courtesy of GENERAL MOTORS CORP.
Callout Component Name
1 Headlamp - Low Beam - Right
2 Headlamp - High Beam - Right
3 Cellular Antenna (UE1)
4 Headlamp - High Beam - Left
5 Headlamp - Low Beam - Left
6 Outside Rearview Mirror - Driver
7 Marker Lamp - LF
8 Park/Turn Signal Lamp - LF
9 Cornering Lamp - Left (Z88)
10 Fog Lamp - LF (T96)
11 Fog Lamp - RF (T96)
12 Cornering Lamp - Right (Z88)
13 Park/Turn Signal Lamp - RF
14 Marker Lamp - RF
15 Radio Antenna
16 Outside Rearview Mirror - Passenger
Fig 2: Front of Vehicle View (X88)
GM1550922Courtesy of GENERAL MOTORS CORP.
Callout Component Name
1 Radio Antenna
2 Headlamp - High Beam - Right
3 Headlamp - Low Beam - Right
4 Headlamp - Low Beam - Left
5 Cellular Antenna (UE1)
6 Headlamp - High Beam - Left
7 Outside Rearview Mirror - Driver
8 Marker Lamp - LF
9 Park/Turn Signal lamp - LF
10 Fog Lamp - LF (T96)
11 Fog Lamp - RF (T96)
12 Park/Turn Signal lamp - RF
13 Marker Lamp - RF
14 Outside Rearview Mirror - Passenger
Fig 3: Front of Vehicle View (W49)
GM1550923Courtesy of GENERAL MOTORS CORP.
Callout Component Name
1 Radio Antenna
2 Digital Radio Antenna
3 Cellular Antenna (UE1)
4 Outside Rearview Mirror - Driver
5 Park Lamp - LF
6 Park Lamp - LF
7 Headlamp - High Beam - Left
8 Marker Lamp - LF
9 Cornering Lamp - Left
10 Fog Lamp - LF (T96)
11 Headlamp - Low Beam - Left
12 Turn Signal Lamp - LF
13 Turn Signal Lamp - RF
14 Headlamp - Low Beam - Right
15 Fog Lamp - RF (T96)
16 Cornering Lamp - Right
17 Marker Lamp - RF
18 Headlamp - High Beam - Right
19 Park Lamp - RF
20 Park Lamp - RF
21 Outside Rearview Mirror - Passenger
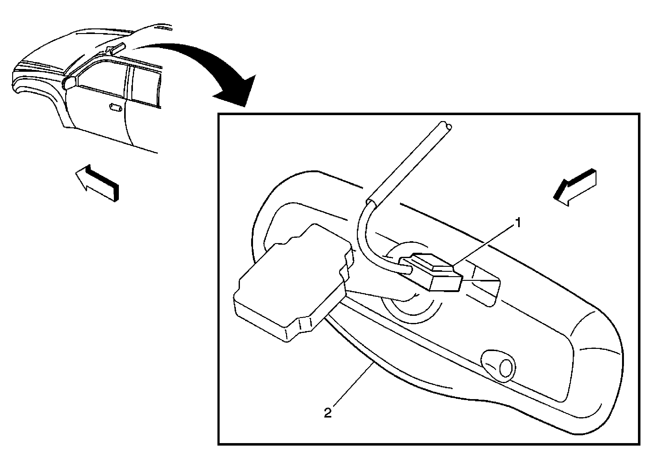
Fig 4: View Of Inside Rearview Mirror
GM1775167Courtesy of GENERAL MOTORS CORP.
Callout Component Name
1 Connector (Headliner Harness)
2 Inside Rearview Mirror