lemon-mirror:
Home >> Isuzu >> 2008 >> i-290 Automatic >> Repair and Diagnosis >> Electrical >> Component Locations >> Electrical Component Locator >> Component Location Graphics

Component Location Graphics

NOTE: Figures may show multiple component locations. Refer to appropriate table for proper figure references.
Fig 1: Front Axle
G00260347Courtesy of GENERAL MOTORS CORP.
Fig 2: Automatic Transmission Overview
G00420566Courtesy of GENERAL MOTORS CORP.
Fig 3: Transfer Case
G00260353Courtesy of GENERAL MOTORS CORP.
Fig 4: Driver's Seat
G00459154Courtesy of GENERAL MOTORS CORP.
Fig 5: SIR System Front/Roof Rail
G00420568Courtesy of GENERAL MOTORS CORP.
Fig 6: SIR System Side Sensor/Module
G00260357Courtesy of GENERAL MOTORS CORP.
Fig 7: Left Rear Door
G00459153Courtesy of GENERAL MOTORS CORP.
Fig 8: Lower Center Of Dash
G00260359Courtesy of GENERAL MOTORS CORP.
Fig 9: Lower Left Side Of Dash
G00420570Courtesy of GENERAL MOTORS CORP.
Fig 10: Center Of Dash
G00260361Courtesy of GENERAL MOTORS CORP.
Fig 11: Lower Left Side Of Engine Compartment
G00260367Courtesy of GENERAL MOTORS CORP.
Fig 12: Front Wheel Speed Sensors
G00260368Courtesy of GENERAL MOTORS CORP.
Fig 13: Lower Left Side Of Dash
G00260369Courtesy of GENERAL MOTORS CORP.
Fig 14: Top View Of Engine (2.9L)
G00260373Courtesy of GENERAL MOTORS CORP.
Fig 15: Left Side Of Engine (2.9L)
G00260374Courtesy of GENERAL MOTORS CORP.
Fig 16: Top/Front View Of Engine (2.9L)
G00260375Courtesy of GENERAL MOTORS CORP.
Fig 17: Chassis & Right Side Of Transfer Case
G00364912Courtesy of GENERAL MOTORS CORP.
Fig 18: Top View Of Engine (3.7L)
G00260378Courtesy of GENERAL MOTORS CORP.
Fig 19: Right Front Of Engine (3.7L)
G00260380Courtesy of GENERAL MOTORS CORP.
Fig 20: Left & Right Sides Of Engine Compartment (Extended Cab)
G00459146Courtesy of GENERAL MOTORS CORP.
Fig 21: Passenger Compartment (Regular Cab) (1 Of 2)
G00459147Courtesy of GENERAL MOTORS CORP.
Fig 22: Passenger Compartment (Regular Cab) (2 Of 2)
G00260391Courtesy of GENERAL MOTORS CORP.
Fig 23: Passenger Compartment (Crew Cab) (1 Of 2)
G00364908Courtesy of GENERAL MOTORS CORP.
Fig 24: Passenger Compartment (Crew Cab) (2 Of 2)
G00364909Courtesy of GENERAL MOTORS CORP.
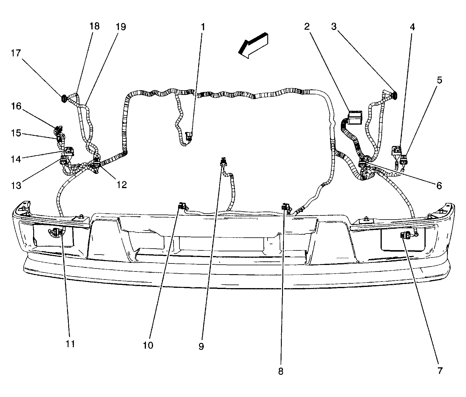
Fig 25: Body Harness Routing
G00459148Courtesy of GENERAL MOTORS CORP.
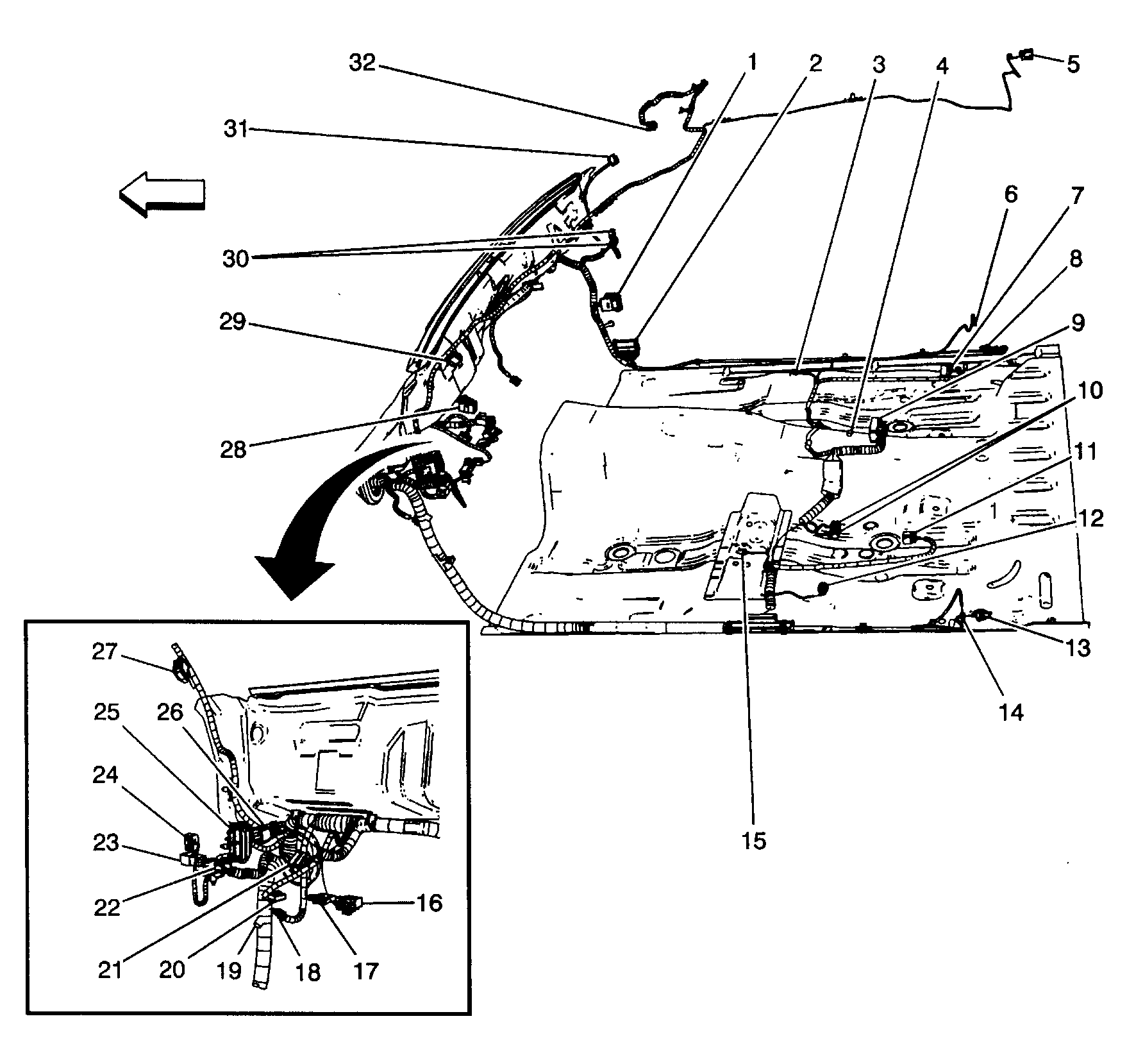
Fig 26: Chassis Harness Routing
G00459149Courtesy of GENERAL MOTORS CORP.
Fig 27: License Plate Lamp Harness Routing
G00459150Courtesy of GENERAL MOTORS CORP.
Fig 28: Engine Harness (3.7L)
G00459152Courtesy of GENERAL MOTORS CORP.
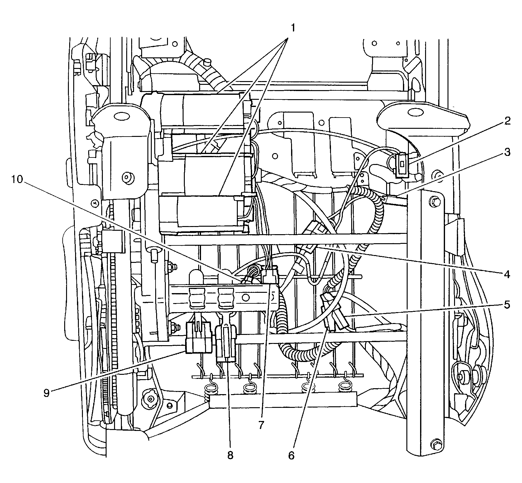
Fig 29: Engine Control Components - Left Side (3.7L)
G00459155Courtesy of GENERAL MOTORS CORP.
Fig 30: HVAC Components
G00440704Courtesy of GENERAL MOTORS CORP.
Fig 31: Left Side Of Dash
G00459156Courtesy of GENERAL MOTORS CORP.
Fig 32: Center Of Dash
G00440706Courtesy of GENERAL MOTORS CORP.
Fig 33: Backup Lamp Switch
G00440707Courtesy of GENERAL MOTORS CORP.
Fig 34: Engine Electrical Components
G00459157Courtesy of GENERAL MOTORS CORP.
Fig 35: Body Control Module (BCM)
G00459158Courtesy of GENERAL MOTORS CORP.
Fig 36: Brake Fluid Level Switch
G00440710Courtesy of GENERAL MOTORS CORP.
Fig 37: Front Passenger Door
G00459159Courtesy of GENERAL MOTORS CORP.
Fig 38: Left Rear Door (Crew Cab)
G00459160Courtesy of GENERAL MOTORS CORP.
Fig 39: Right Rear Door (Crew Cab)
G00459161Courtesy of GENERAL MOTORS CORP.
Fig 40: Passenger Seat Components
G00440716Courtesy of GENERAL MOTORS CORP.
Fig 41: Passenger Seat
G00440717Courtesy of GENERAL MOTORS CORP.
Fig 42: Longitudinal Accelerometer Sensor
G00440718Courtesy of GENERAL MOTORS CORP.
Fig 43: Park Neutral Position (PNP) Switch
G00440719Courtesy of GENERAL MOTORS CORP.
Fig 44: Engine Control Components
G00440720Courtesy of GENERAL MOTORS CORP.
Fig 45: SIR Components - Pretensioner/Dash
G00440721Courtesy of GENERAL MOTORS CORP.
Fig 46: Right Rear Door (Extended Cab)
G00459163Courtesy of GENERAL MOTORS CORP.
Fig 47: Wiper Components
G00440723Courtesy of GENERAL MOTORS CORP.
Fig 48: Forward Lamp Harness Routing
G00459164Courtesy of GENERAL MOTORS CORP.
Fig 49: Engine Harness Routing - (2.9L)
G00459165Courtesy of GENERAL MOTORS CORP.
Fig 50: Engine Harness Routing - (3.7L)
G00459166Courtesy of GENERAL MOTORS CORP.
Fig 51: Dash Harness Routing
G00459167Courtesy of GENERAL MOTORS CORP.
Fig 52: HVAC Harness Routing
G00459168Courtesy of GENERAL MOTORS CORP.
Fig 53: Driver Door Harness Routing
G00459169Courtesy of GENERAL MOTORS CORP.
Fig 54: Underhood Fuse Block Label
G00440731Courtesy of GENERAL MOTORS CORP.
Fig 55: Underside Of Passenger Seat
G00459162Courtesy of GENERAL MOTORS CORP.
Fig 56: Under Passenger Seat
G00440715Courtesy of GENERAL MOTORS CORP.