lemon-mirror:
Home >> Jeep >> 1985 >> Pickup J20 >> Repair and Diagnosis >> Body & Frame >> Power Windows >> Description

Power Windows: Description

All Cherokee and Wagoneers have a tape driven window regulator system. When motor is activated, the drive gear moves the flex rack along a T-track and raises or lowers the window glass.

Side windows are operated by individual switches at each door, or by a complete set of control switches at the instrument panel. The electric tailgate window system consists of a safety switch, gearbox-type regulator, 12-volt motor, wiring, connections and a 30 amp circuit breaker located at the fuse block.

The electric side window system consists of regulator motors, switches, actuators and actuator rods, wiring and connections, and a 30 amp circuit breaker located at the fuse block.

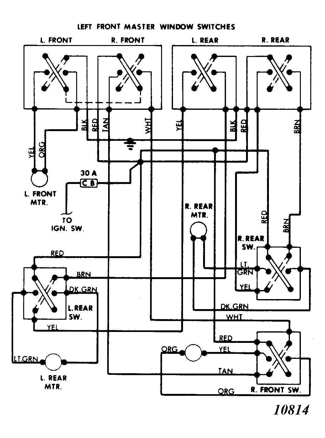
Fig 1: Jeep Power Window Wiring Diagram
G10814