lemon-mirror:
Home >> Jeep >> 1990 >> Wagoneer >> Repair and Diagnosis >> Engine Performance >> System >> Engine Controls - Tests W/Codes - 4.0L >> Code Charts >> Fault 1065: O2 Sensor Reads Rich

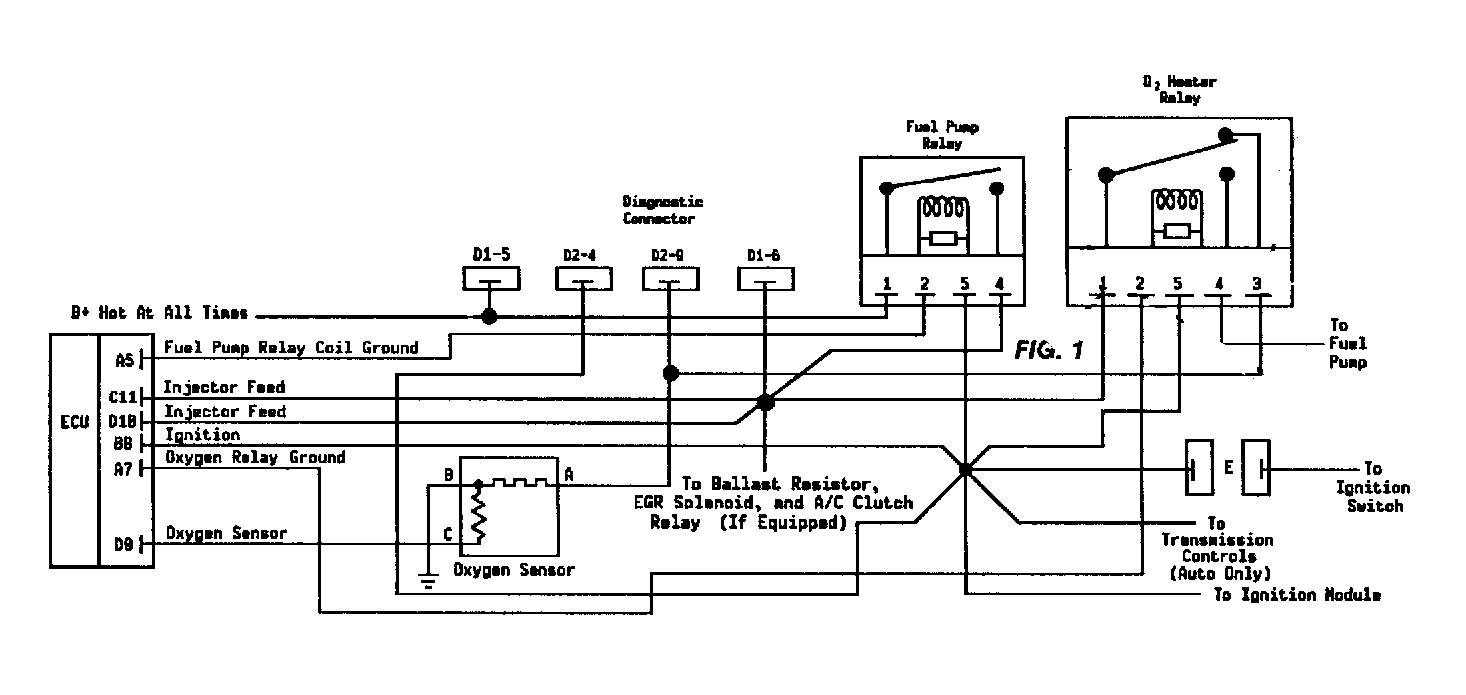
Fault 1065: O2 Sensor Reads Rich

NOTE: For additional oxygen sensor information, see TITANIA OXYGEN SENSOR TESTING article.
Fig 1: Fault 1065: Circuit Diagram O2 Sensor Reads Rich
G90B17815
Fig 2: Fault 1065: Flow Chart O2 Sensor Reads Rich
G90F17892