lemon-mirror:
Home >> Jeep >> 1991 >> Cherokee Limited >> Repair and Diagnosis >> Engine Performance >> System >> Engine Controls - Tests W/Codes >> Code Charts >> NS-9B: Checking Distributor Reference Circuit

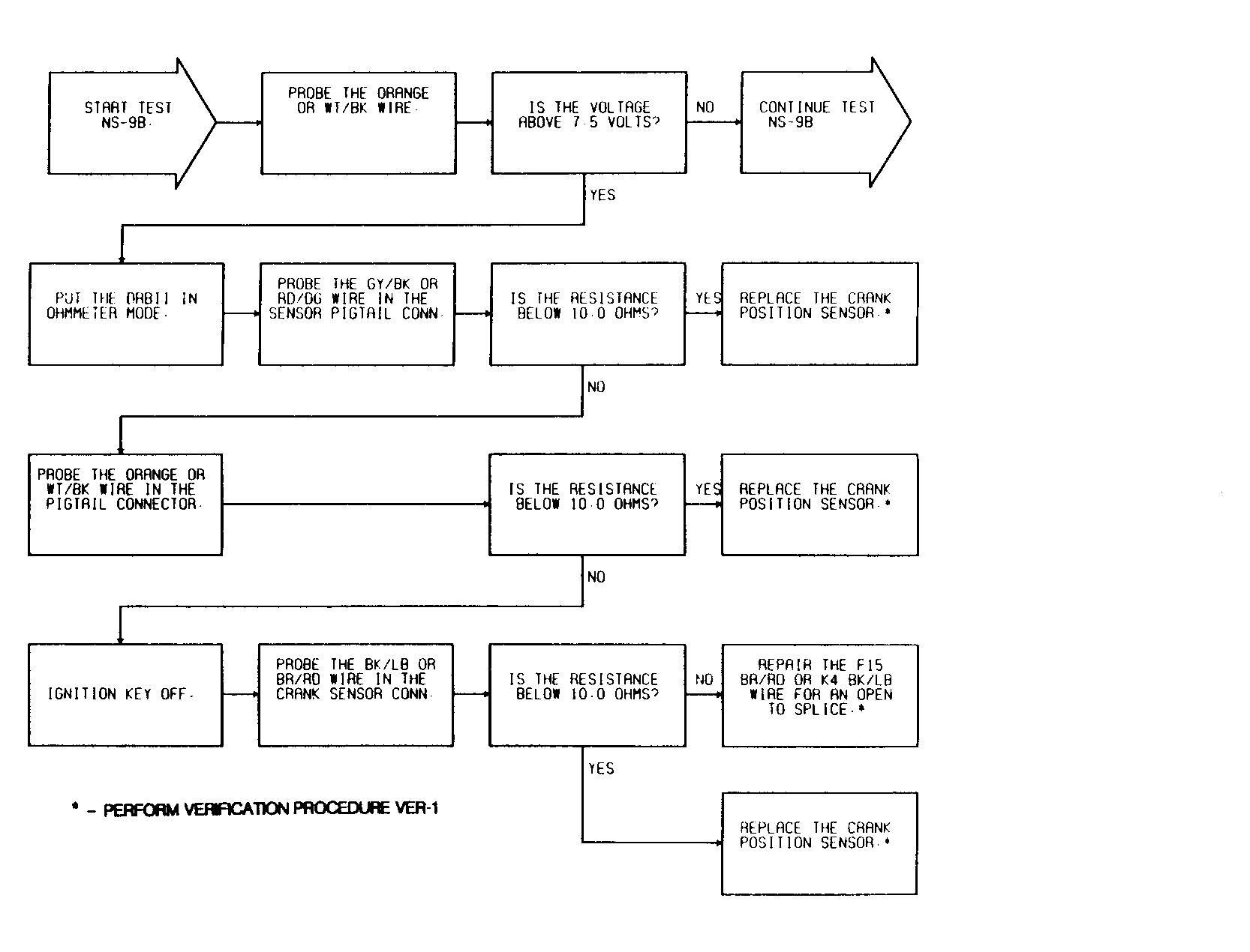
NS-9B: Checking Distributor Reference Circuit

Fig 1: Test NS-9B Schematic, Distributor Reference Circuit
G91E13940
Fig 2: Test NS-9B (1 of 2) Distributor Reference Circuit
G91I13845
Fig 3: Test NS-9B (2 of 2) Distributor Reference Circuit
G91J13846