lemon-mirror:
Home >> Jeep >> 1992 >> Cherokee Limited >> Repair and Diagnosis >> Engine Performance >> System >> Engine Controls - Tests W/Codes >> Connector Identification

Connector Identification

CONNECTOR IDENTIFICATION DIRECTORY

Connector See Fig.
Automatic Idle Speed (AIS) Motor Fig 1
Charge & Coolant Temperature Sensor Fig 2
Crankshaft Position Sensor Fig 3
Distance Sensor
Except Wrangler Fig 4
Wrangler Fig 5
Distributor Sync Pick-Up Sensor Fig 6
Engine Controller Fig 7
Engine Diagnostic Fig 8
Fuel Injector Fig 9
Ignition Coil Fig 10
Manifold Absolute Pressure (MAP) Sensor Fig 11
Oxygen (O2) Sensor Fig 12
Relays Fig 13
Throttle Position Sensor Fig 14
Fig 1: Automatic Idle Speed (AIS) Motor Connector Terminal ID
G92A04767Courtesy of CHRYSLER MOTORS.
Fig 2: Charge Temp Sensor & Coolant Temp Sensor Connector Terminal ID
G92E04769Courtesy of CHRYSLER MOTORS.
Fig 3: Crank Position Sensor Connector Terminal ID
G92G04770Courtesy of CHRYSLER MOTORS.
Fig 4: Distance Sensor Connector Terminal ID (Except Wrangler)
G92A04772Courtesy of CHRYSLER MOTORS.
Fig 5: Distance Sensor Connector Terminal ID (Wrangler)
G92I04771Courtesy of CHRYSLER MOTORS.
Fig 6: Distributor Sync Pick-Up Connector Terminal ID
G92F22488Courtesy of CHRYSLER MOTORS.
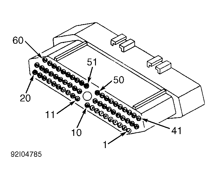
Fig 7: Engine Controller Connector Terminal ID
G92I04785Courtesy of CHRYSLER MOTORS.
Fig 8: Engine Diagnostic Connector Terminal ID
G92D22486Courtesy of CHRYSLER MOTORS.
ENGINE DIAGNOSTIC CONNECTOR TERMINAL IDENTIFICATION

Cavity & Model Wire Color
No. 1
Cherokee & Comanche Black
Wrangler Black/Yellow
No. 2 Not Used
No. 3
Cherokee & Comanche Pink
Wrangler Black/Red
No. 4
Cherokee & Comanche Light Green
Wrangler Black/Pink
No. 5
Cherokee & Comanche Dark Blue/White
Wrangler white/Yellow
No. 6 Not Used
Fig 9: Fuel Injector Connector Terminal ID
G92H04775Courtesy of CHRYSLER MOTORS.
Fig 10: Ignition Coil Connector Terminal ID
G92D04778Courtesy of CHRYSLER MOTORS.
Fig 11: MAP Sensor Connector Terminal ID
G92E22487Courtesy of CHRYSLER MOTORS.
Fig 12: Oxygen (O2) Sensor Connector Terminal ID
G92J04781Courtesy of CHRYSLER MOTORS.
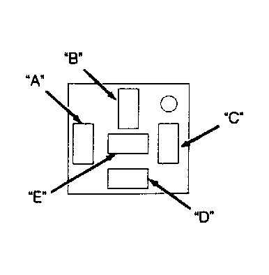
Fig 13: Relay Connector Terminal ID
G92D04783Courtesy of CHRYSLER MOTORS.
Fig 14: Throttle Position Sensor Connector Terminal ID
G92C04787Courtesy of CHRYSLER MOTORS.
Fig 15: Testing Fuel Pump Relay
G92G22489Courtesy of CHRYSLER MOTORS.