lemon-mirror:
Home >> Jeep >> 1995 >> Wrangler S, Automatic >> Repair and Diagnosis >> Engine Performance >> System >> Engine Controls - Tests W/Codes - 2.5L >> Connector Identification

Connector Identification

CONNECTOR IDENTIFICATION DIRECTORY

Connector See
Idle Air Control (IAC) Motor Fig 1
Engine Coolant & Intake Air Temperature Sensors Fig 2
Camshaft & Crankshaft Position Sensors Fig 3
Powertrain Control Module (PCM) Fig 4
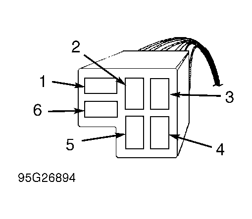
Engine Diagnostic/Data Link Connector (DLC) Fig 5
Fuel Injector Fig 6
Ignition Coil Fig 7
Manifold Absolute Pressure (MAP) Sensor Fig 8
Heated Oxygen Sensor (HO2S) Fig 9
Relays Fig 10
Throttle Position Sensor (TPS) Fig 11
Fuel Pump Relay Fig 12
Fig 1: Identifying Idle Air Control (IAC) Motor Connector Terminals
G92A04767Courtesy of CHRYSLER CORP.
Fig 2: ECT & Intake Air Temperature Sensor Connector Terminal ID
G92E04769Courtesy of CHRYSLER CORP.
Fig 3: CMP & Crankshaft Position (CKP) Sensor Connector Terminal ID
G92C22485Courtesy of CHRYSLER CORP.
Fig 4: Identifying Engine Controller Connector Terminals
G92I04785Courtesy of CHRYSLER CORP.
Fig 5: Engine Diagnostic Connector/DLC Terminal ID
G95G26894Courtesy of CHRYSLER CORP.
Fig 6: Identifying Fuel Injector Connector Terminals
G92H04775Courtesy of CHRYSLER CORP.
Fig 7: Identifying Ignition Coil Connector Terminals
G92D04778Courtesy of CHRYSLER CORP.
Fig 8: Manifold Absolute Pressure (MAP) Sensor Connector Terminal ID
G92E22487Courtesy of CHRYSLER CORP.
Fig 9: Identifying Heated Oxygen Sensor (HO2S) Connector Terminals
G92J04781Courtesy of CHRYSLER CORP.
Fig 10: Identifying Relay Connector Terminals
G92D04783Courtesy of CHRYSLER CORP.
Fig 11: Identifying Throttle Position Sensor Connector Terminals
G92C04787Courtesy of CHRYSLER CORP.
Fig 12: Testing Fuel Pump Relay
G92G22489Courtesy of CHRYSLER CORP.