lemon-mirror:
Home >> Jeep >> 1996 >> Grand Cherokee Orvis >> Repair and Diagnosis >> Body & Frame >> Body, Cab Control Systems >> Body Control Computer >> Identification >> Connector Identification

Connector Identification

NOTE: For terminal identification of body control system connectors, see Fig 1 -Fig 32 . Connector terminal numbers are molded into connectors. If connector terminal identification differs from that shown in figure, use wire colors to ensure correct circuit is being tested.
Fig 1: Airbag Control Module Connector Terminals
G95G35903Courtesy of CHRYSLER CORP.
Fig 2: Ambient Temperature Sensor Connector Terminals
G95G35309Courtesy of CHRYSLER CORP.
Fig 3: Anti-Theft Indicator Light Connector Terminals
G95A35311Courtesy of CHRYSLER CORP.
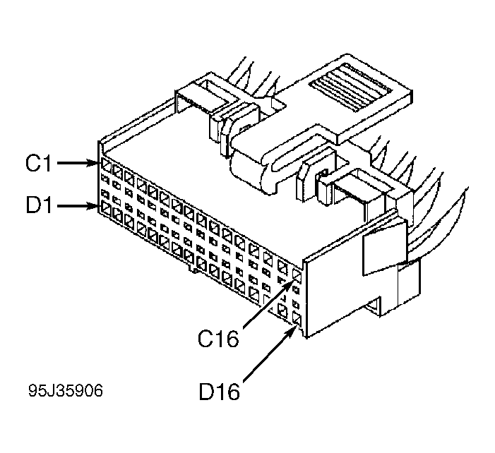
Fig 4: Automatic Temperature Control Head Connector Terminals
G95J35906Courtesy of CHRYSLER CORP.
Fig 5: Body Control Module Black 14-Pin Connector Terminals
G95C35313Courtesy of CHRYSLER CORP.
Fig 6: Body Control Module Black 24-Pin Connector Terminals
G95E35315Courtesy of CHRYSLER CORP.
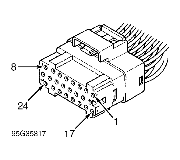
Fig 7: Body Control Module White 24-Pin Connector Terminals
G95G35317Courtesy of CHRYSLER CORP.
Fig 8: Compass Mini-Trip Computer Connector Terminals
G95F35886Courtesy of CHRYSLER CORP.
Fig 9: Data Link Connector Terminals
G95I35319Courtesy of CHRYSLER CORP.
Fig 10: Door Courtesy Light (Front) Connector Terminals
G95D35314Courtesy of CHRYSLER CORP.
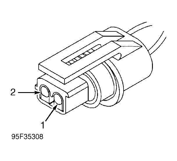
Fig 11: Door Lock Motor Connector Terminals
G95F35308Courtesy of CHRYSLER CORP.
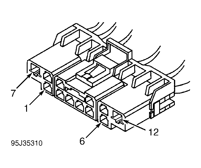
Fig 12: Door Module Connector Terminals
G95J35310Courtesy of CHRYSLER CORP.
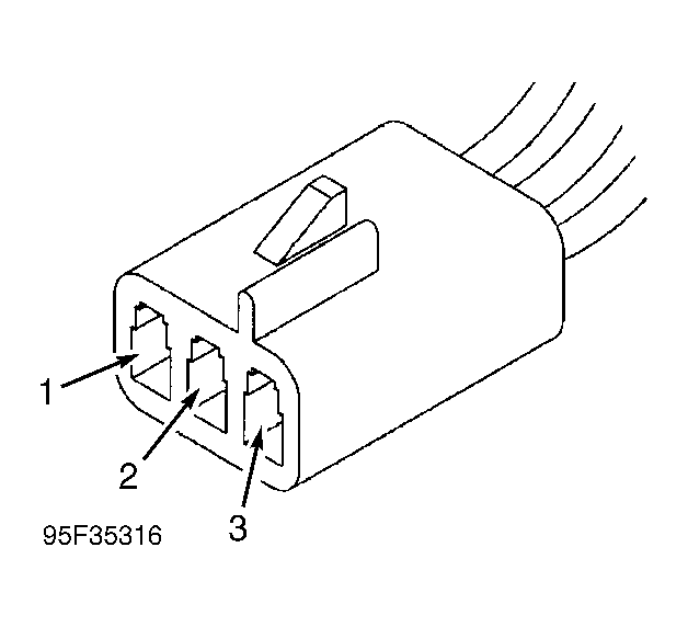
Fig 13: Front & Rear Riser Position Sensor Connector Terminals
G95F35316Courtesy of CHRYSLER CORP.
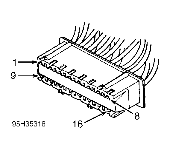
Fig 14: Headlight Switch Connector Terminals
G95H35318Courtesy of CHRYSLER CORP.
Fig 15: Horizontal & Recliner Position Sensor Connector Terminals
G95B35320Courtesy of CHRYSLER CORP.
Fig 16: Ignition Switch 4-Pin Connector Terminals
G96F01441Courtesy of CHRYSLER CORP.
Fig 17: Instrument Cluster Connector Terminals
G96J01443Courtesy of CHRYSLER CORP.
Fig 18: Liftgate (Cargo) Light Connector Terminals
G96E01445Courtesy of CHRYSLER CORP.
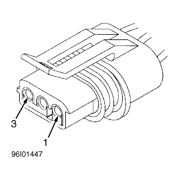
Fig 19: Liftgate & Glass Ajar Switch Connector Terminals
G96I01447Courtesy of CHRYSLER CORP.
Fig 20: Lumbar Motor Connector Terminals
G96C01449Courtesy of CHRYSLER CORP.
Fig 21: Memory Mirror Connector Terminals
G95B35312Courtesy of CHRYSLER CORP.
Fig 22: Memory Seat Module Connector "A" Terminals
G96G01451Courtesy of CHRYSLER CORP.
Fig 23: Memory Seat Module Connector "B" Terminals
G96A01453Courtesy of CHRYSLER CORP.
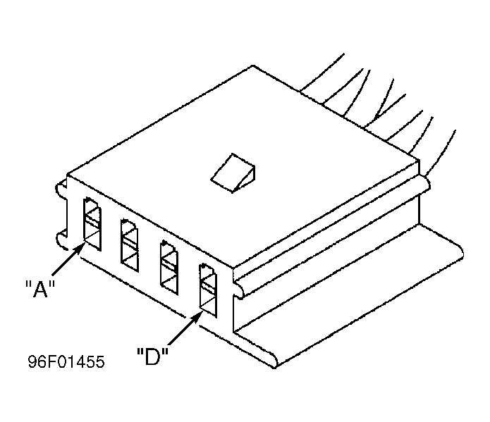
Fig 24: Memory Switch Connector Terminals
G96F01455Courtesy of CHRYSLER CORP.
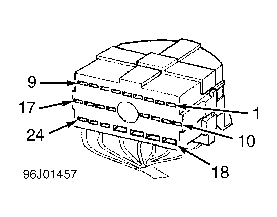
Fig 25: Multifunction Switch Connector Terminals
G96J01457Courtesy of CHRYSLER CORP.
Fig 26: Powertrain Control Module Connector Terminals
G95H35904Courtesy of CHRYSLER CORP.
Fig 27: Radio CCD Bus Connector Terminals
G95B35890Courtesy of CHRYSLER CORP.
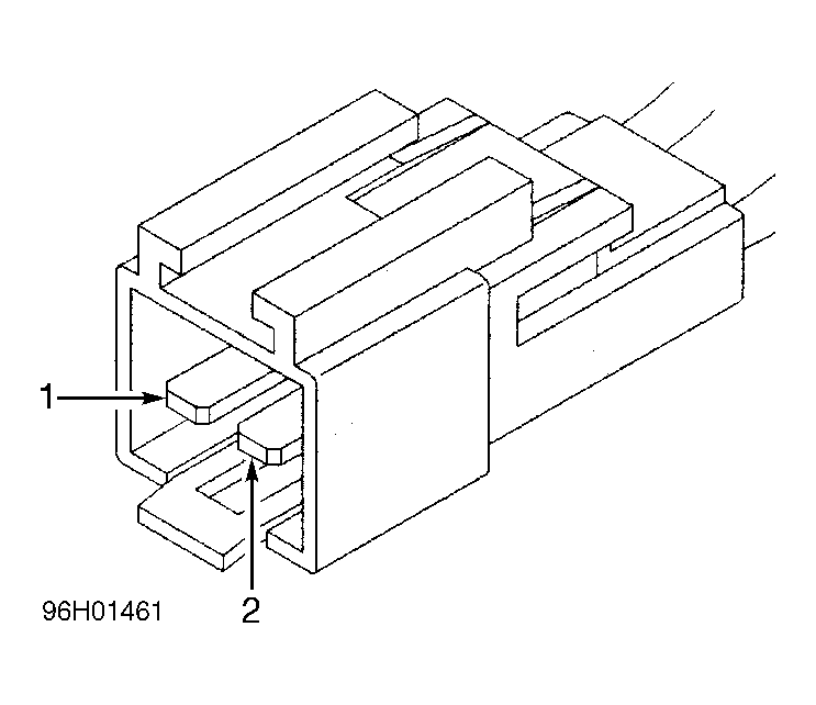
Fig 28: Seat Belt Switch Connector Terminals
G96H01461Courtesy of CHRYSLER CORP.
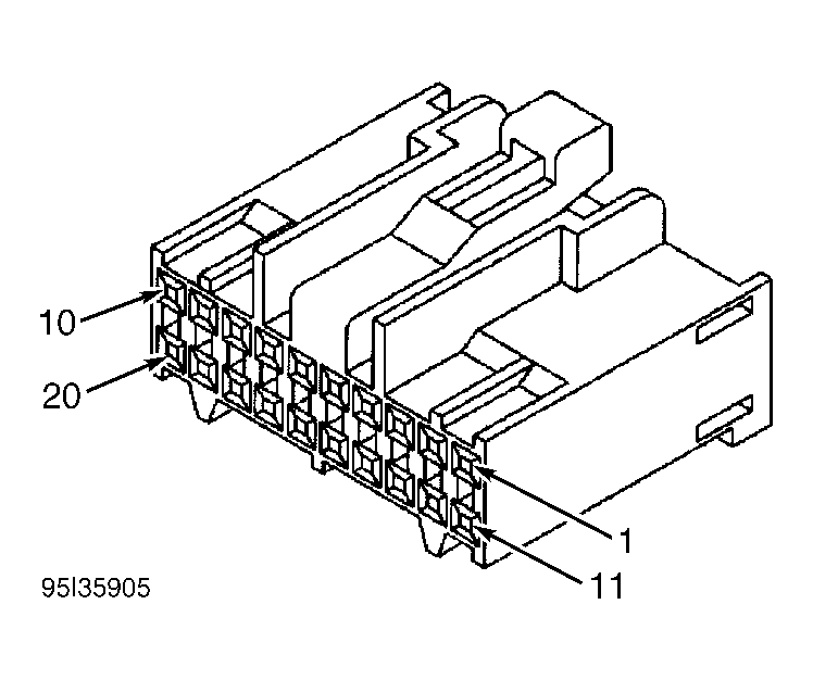
Fig 29: Vehicle Information Center Connector Terminals
G95I35905Courtesy of CHRYSLER CORP.
Fig 30: Window Motor Connector Terminals
G96B01463Courtesy of CHRYSLER CORP.
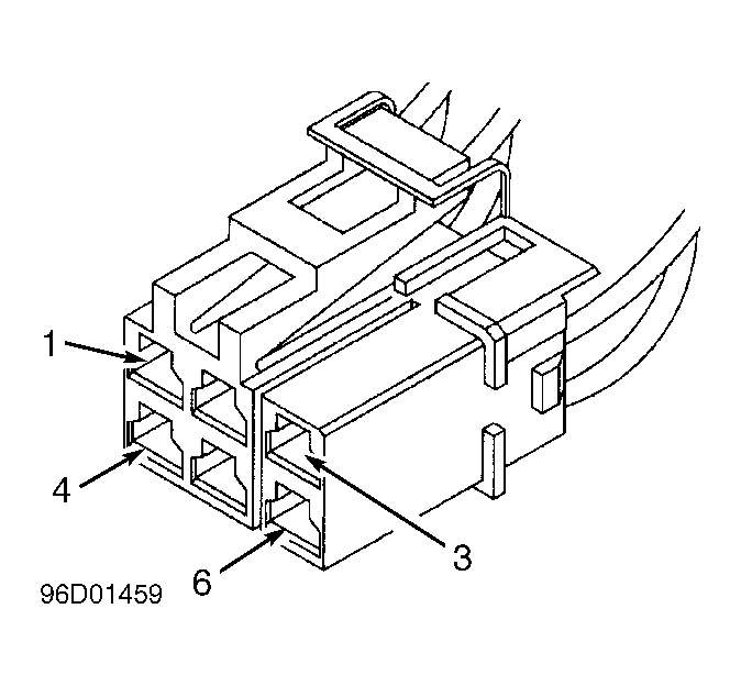
Fig 31: Window Switch Connector Terminals
G96D01459Courtesy of CHRYSLER CORP.
Fig 32: Wiper Motor Connector Terminals
G96G01465Courtesy of CHRYSLER CORP.