lemon-mirror:
Home >> Jeep >> 1997 >> Cherokee Country, RWD >> Repair and Diagnosis >> Brakes >> Traction Control >> Anti-Lock Brake System >> Connector Identification

Connector Identification

Fig 1: Controller Anti-Lock Brake Connector Terminals (Harness Side)
G97C03542Courtesy of CHRYSLER CORP.
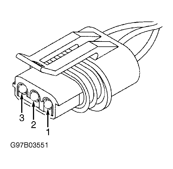
Fig 2: "G" Switch Sensor Connector Terminals (Harness Side)
G97B03551Courtesy of CHRYSLER CORP.
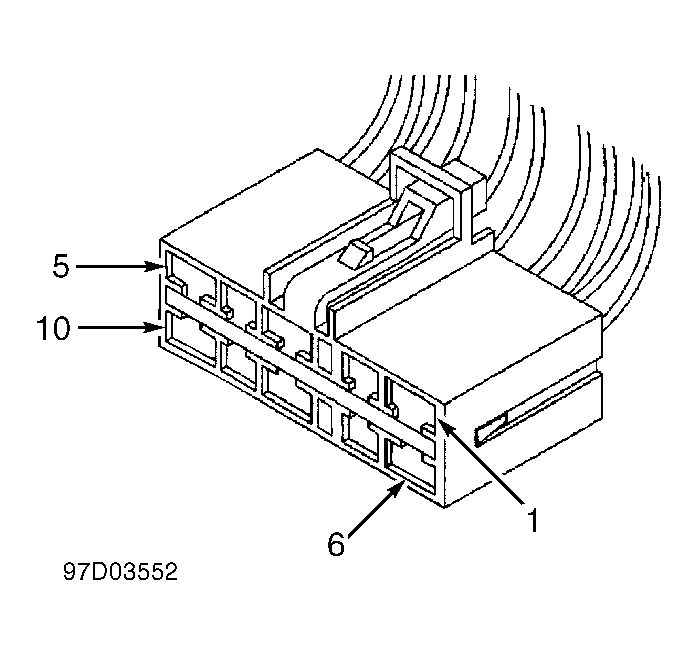
Fig 3: Ignition Switch Connector Terminals (Harness Side)
G97D03552Courtesy of CHRYSLER CORP.
Fig 4: Instrument Panel Connector (Left) Terminals (Harness Side)
G97H03554Courtesy of CHRYSLER CORP.
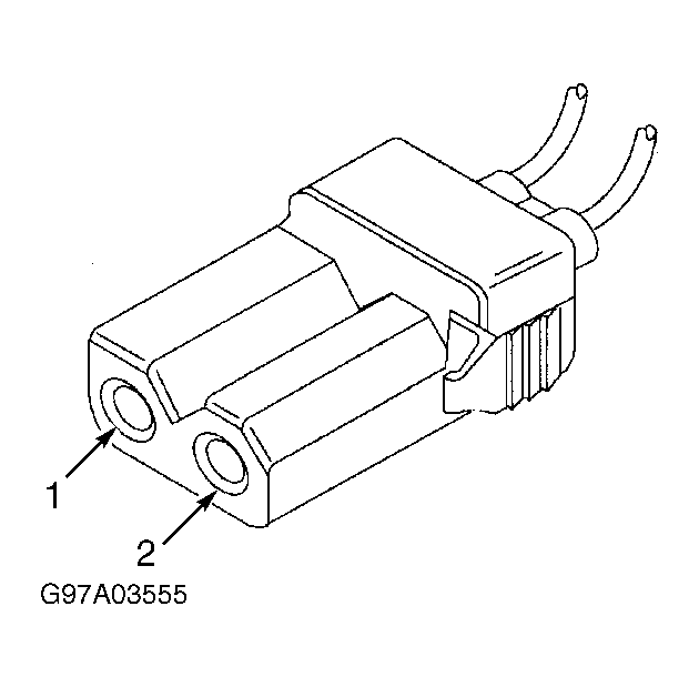
Fig 5: Pump/Motor Connector Terminals (Harness Side)
G97A03555Courtesy of CHRYSLER CORP.
Fig 6: Wheel Speed Sensor Connector Terminals (Component Side)
G97F03548Courtesy of CHRYSLER CORP.
Fig 7: Front Wheel Speed Sensor Connector Terminals (Harness Side)
G97C03556Courtesy of CHRYSLER CORP.
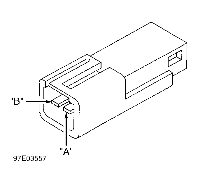
Fig 8: Left Rear Wheel Speed Sensor Connector Terminals (Harness Side)
G97E03557Courtesy of CHRYSLER CORP.
Fig 9: Right Rear Wheel Speed Sensor Connector Terminals (Harness Side)
G97G03558Courtesy of CHRYSLER CORP.