lemon-mirror:
Home >> Jeep >> 1999 >> Wrangler SE, Automatic >> Repair and Diagnosis >> Engine Performance >> System >> Engine Controls - Tests W/Codes >> Connector Identification

Connector Identification

NOTE: The following terminals are shown as viewed from harness side of connector. Only connectors with 3 or more terminals (pins) are included. For circuit identification and wiring diagram, see WRANGLER wiring diagram in WIRING DIAGRAMS article.
CONNECTOR IDENTIFICATION

Connector Illustration
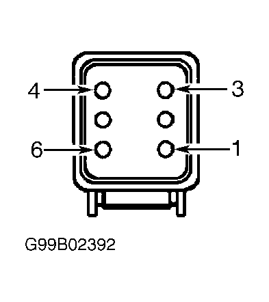
Accelerator Pedal Position Sensor Fig 1
Brakelight Switch Fig 2
Camshaft Position Sensor Fig 3
Controller Anti-Lock Brakes Fig 4
Crankshaft Position Sensor Fig 5
Data Link Connector Fig 6
Engine Oil Pressure Sensor Fig 7
Fuel Pump Module Fig 8
Governor Pressure Sensor Fig 9
Idle Air Control Motor Fig 10
Leak Detection Pump Fig 11
Manifold Absolute Pressure Sensor Fig 12
Park/Neutral Position Switch Fig 13
Powertrain Control Module Fig 14
Throttle Position Sensor Fig 15
Vehicle Speed Sensor Fig 16
1/1-1/3 Heated Oxygen Sensor (Typical) Fig 17
Fig 1: Accelerator Pedal Position Sensor
G99B02392Courtesy of CHRYSLER CORP.
Fig 2: Brakelight Switch
G99D02393Courtesy of CHRYSLER CORP.
Fig 3: Camshaft Position Sensor
G99I02395Courtesy of CHRYSLER CORP.
Fig 4: Controller Anti-Lock Brakes
G99A02396Courtesy of CHRYSLER CORP.
Fig 5: Crankshaft Position Sensor
G99C08120Courtesy of CHRYSLER CORP.
Fig 6: Data Link
G99E08121Courtesy of CHRYSLER CORP.
Fig 7: Engine Oil Pressure Sensor
G99A08124Courtesy of CHRYSLER CORP.
Fig 8: Fuel Pump Module
G99H08127Courtesy of CHRYSLER CORP.
Fig 9: Governor Pressure Sensor
G99J08128Courtesy of CHRYSLER CORP.
Fig 10: Idle Air Control Motor
G99D08130Courtesy of CHRYSLER CORP.
Fig 11: Leak Detection Pump
G99J08133Courtesy of CHRYSLER CORP.
Fig 12: Manifold Absolute Pressure Sensor
G99G08136Courtesy of CHRYSLER CORP.
Fig 13: Park Neutral Position Switch
G99I08137Courtesy of CHRYSLER CORP.
Fig 14: Powertrain Control Module
G95B35650Courtesy of CHRYSLER CORP.
Fig 15: Throttle Position Sensor
G99A08138Courtesy of CHRYSLER CORP.
Fig 16: Vehicle Speed Sensor
G99F08145Courtesy of CHRYSLER CORP.
Fig 17: 1/1-1/3 Heated Oxygen Sensor (Typical)
G99J08147Courtesy of CHRYSLER CORP.