lemon-mirror:
Home >> Jeep >> 2001 >> Cherokee Limited, 4WD >> Repair and Diagnosis >> Body & Frame >> Body, Cab Control Systems >> Body Control Modules >> System Tests >> Communications >> No Response From Powertrain Control Module

No Response From Powertrain Control Module

NOTE: Attempt to start engine. If engine does not start, repair no start condition. See NO-START DIAGNOSIS in BASIC DIAGNOSTIC PROCEDURES article in ENGINE PERFORMANCE.
  1. Connect scan tool to a different vehicle. Turn ignition switch to ON position. If scan tool communicates with vehicle, go to next step. If scan tool does not communicate with vehicle, repair or replace scan tool or scan tool cable as necessary. Perform POWERTRAIN CONTROL MODULE VER-1  under VERIFICATION TESTS.
  2. Check Powertrain Control Module (PCM) power and ground circuits. See POWERTRAIN CONTROL MODULE under COMPUTERIZED ENGINE CONTROLS in SYSTEM & COMPONENT TESTING article in ENGINE PERFORMANCE. If power and ground circuits are okay, go to next step. If power and ground circuits are not okay, repair power and ground circuits as necessary. Perform POWERTRAIN CONTROL MODULE VER-1  under VERIFICATION TESTS.
  3. Turn ignition switch to OFF position. Disconnect PCM harness connector C3. Disconnect scan tool from Data Link Connector (DLC). Measure resistance between ground and terminal No. 27 (Pink wire) at PCM harness connector C3. See Figure . If resistance is less than 5 ohms, go to next step. If resistance is 5 ohms or greater, go to step  6 .
  4. Turn ignition switch to OFF position. Disconnect Transmission Control Module (TCM) harness connector, if equipped. Measure resistance between ground and terminal No. 14 (Pink wire) at TCM harness connector. See Fig 1 . If resistance is less than 5 ohms, go to next step. If resistance is 5 ohms or greater, replace TCM. See TRANSMISSION CONTROL MODULE  under REMOVAL & INSTALLATION. Perform POWERTRAIN CONTROL MODULE VER-1  under VERIFICATION TESTS.
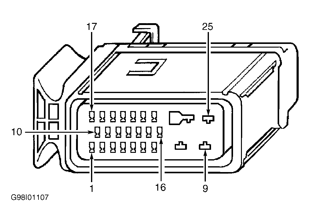
  5. Turn ignition switch to OFF position. Disconnect Controller Anti-Lock Brake (CAB) harness connector. Measure resistance between ground and terminal No. 20 (Pink wire) at CAB harness connector. See Fig 2 . If resistance is less than 5 ohms, repair short to ground in Pink wire. Perform POWERTRAIN CONTROL MODULE VER-1  under VERIFICATION TESTS. If resistance is 5 ohms or greater, replace CAB. Perform POWERTRAIN CONTROL MODULE VER-1  under VERIFICATION TESTS.
  6. Turn ignition switch to OFF position. Disconnect scan tool from DLC. Measure resistance between ground and terminal No. 29 (Light Green/Black wire) at PCM harness connector C3. If resistance is less than 5 ohms, repair short to ground in Light Green/Black wire. Perform POWERTRAIN CONTROL MODULE VER-1  under VERIFICATION TESTS. If resistance is 5 ohms or greater, go to next step.
  7. Measure resistance of Light Green/Black wire between terminal No. 29 at PCM harness connector C3 and terminal No. 6 at DLC. See Figure and Figure . If resistance is less than 5 ohms, go to next step. If resistance is 5 ohms or greater, repair open in Light Green/Black wire. Perform POWERTRAIN CONTROL MODULE VER-1  under VERIFICATION TESTS.
  8. Measure resistance of Pink wire between terminal No. 27 at PCM harness connector C3 and terminal No. 7 at DLC. If resistance is less than 5 ohms, replace PCM. See POWERTRAIN CONTROL MODULE  under REMOVAL & INSTALLATION. Perform POWERTRAIN CONTROL MODULE VER-1  under VERIFICATION TESTS. If resistance is 5 ohms or greater, repair open in Pink wire. Perform POWERTRAIN CONTROL MODULE VER-1  under VERIFICATION TESTS.
Fig 1: Identifying Transmission Control Module Connector Terminals
G00011663Courtesy of DAIMLERCHRYSLER CORP.
Fig 2: Identifying Controller Anti-Lock Brake Connector Terminals
G98I01107Courtesy of DAIMLERCHRYSLER CORP.