lemon-mirror:
Home >> Jeep >> 2006 >> Commander Base, 3.7 K, AWD >> Repair and Diagnosis >> Engine Performance >> Fuel Delivery >> Fuel System >> Fuel Injection >> Injector-Fuel >> Removal >> 3.7L

Fuel Injection: Injector-Fuel: Removal: 3.7L

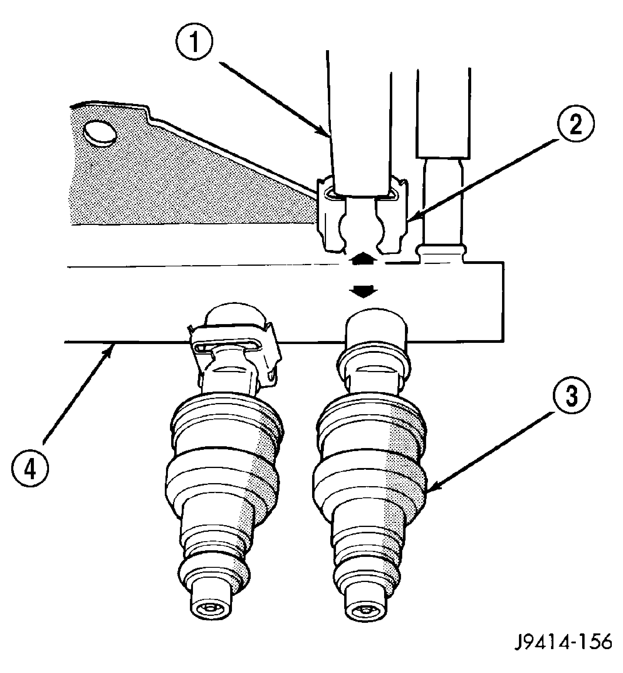
Fig 1: Injector Retaining Clip
GC0006567Courtesy of DAIMLERCHRYSLER CORP.
  1. Remove fuel rail (Refer to FUEL SYSTEM/FUEL DELIVERY/FUEL RAIL - REMOVAL) .
  2. Disconnect clip(s) that retain fuel injector(s) to fuel rail (2).