lemon-mirror:
Home >> Jeep >> 2006 >> Commander Base, 3.7 K, AWD >> Repair and Diagnosis >> Engine Performance >> Fuel Delivery >> Fuel System >> Fuel Injection >> Sensor-Oxygen >> Removal

Fuel Injection: Sensor-Oxygen: Removal

Fig 1: O2 Sensor System - With 4 Sensors
GC0006604Courtesy of DAIMLERCHRYSLER CORP.

Refer to graphic for typical O2S (oxygen sensor) locations if equipped with four oxygen sensors.

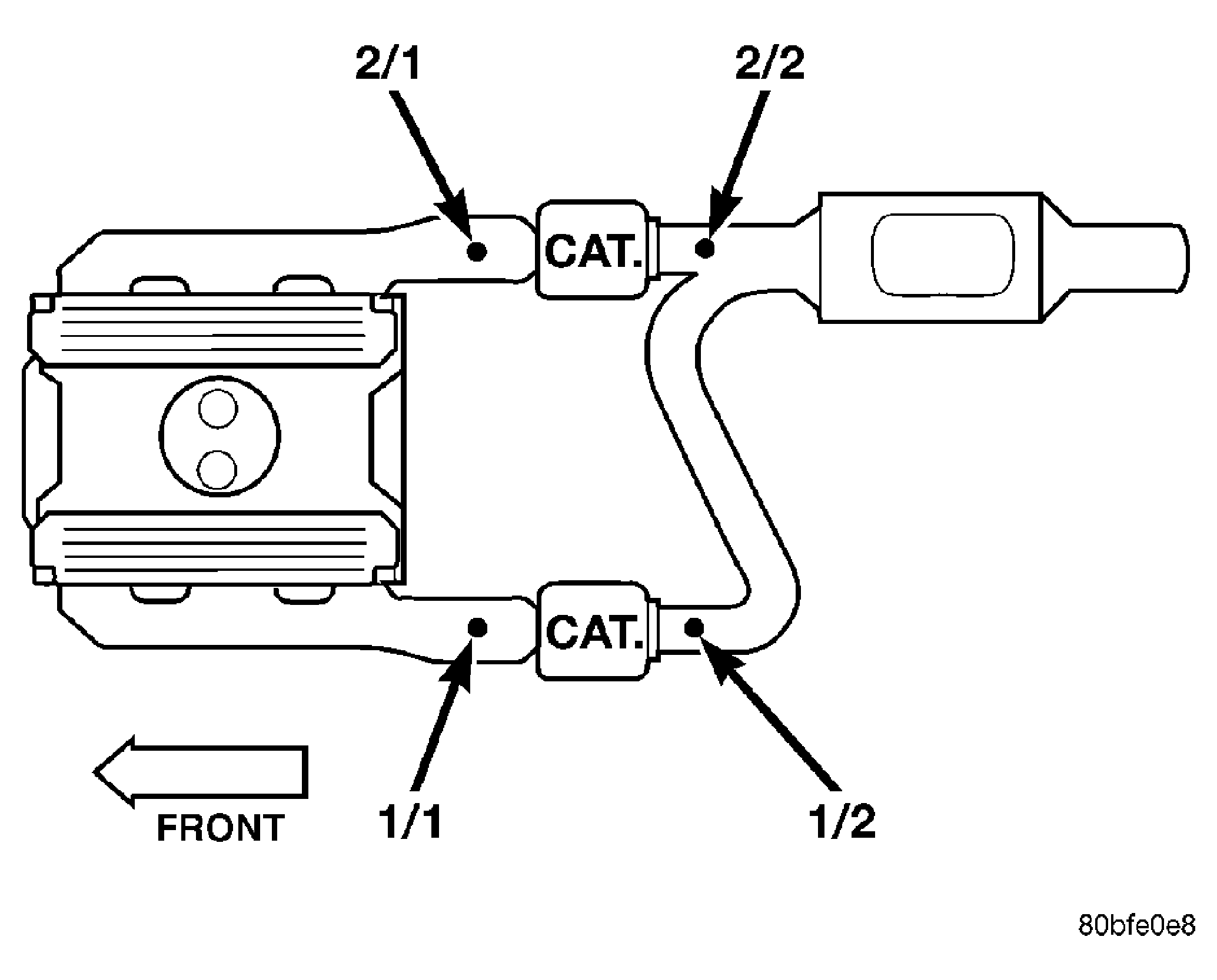
Fig 2: O2 Sensor System - With 2 Sensors
GC0006603Courtesy of DAIMLERCHRYSLER CORP.

Refer to graphic for typical O2S (oxygen sensor) locations if equipped with two oxygen sensors.

CAUTION: Never apply any type of grease to the oxygen sensor electrical connector, or attempt any soldering of the sensor wiring harness.
WARNING: The exhaust manifold, exhaust pipes and catalytic converter become very hot during engine operation. Allow engine to cool before removing oxygen sensor.
  1. Raise and support vehicle.
  2. Disconnect wire connector from O2S sensor.
    CAUTION: When disconnecting sensor electrical connector, do not pull directly on wire going into sensor.
  3. Remove O2S sensor with an oxygen sensor removal and installation tool.
  4. Clean threads in exhaust pipe using appropriate tap.