lemon-mirror:
Home >> Jeep >> 2006 >> Liberty Limited, 2.8 5 >> Repair and Diagnosis >> Engine Performance >> Ignition System >> Coil-Ignition >> Installation

Ignition System: Coil-Ignition: Installation

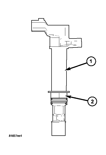
Fig 1: Ignition Coil Seal Location
GC0038209Courtesy of DAIMLERCHRYSLER CORP.
  1. Using compressed air, blow out any dirt or contaminants from around top of spark plug.
  2. Check condition of coil O-ring (2) and replace as necessary. To aid in coil installation, apply silicone to coil O-ring (2).
    Fig 2: IGNITION COIL LOCATION - 3.7L
    GC0038218Courtesy of DAIMLERCHRYSLER CORP.
  3. Position ignition coil (1) into cylinder head opening and push onto spark plug. Do this while guiding coil base over mounting stud.
  4. Install coil mounting stud nut (2). Tighten to 8 N.m (70 in. lbs).
  5. Connect electrical connector to coil by snapping into position.
  6. If necessary, install throttle body air tube.