lemon-mirror:
Home >> Jeep >> 2007 >> Compass Limited, AWD, Standard >> Repair and Diagnosis >> Engine Performance >> System >> DTCS P0032 To P0135 >> P0133-O2 Sensor 1/1 Slow Response >> Diagnostic Test

Diagnostic Test

  1. 1) EXHAUST LEAK 

    Perform the diagnostic procedure for *CHECKING THE EXHAUST SYSTEM FOR LEAKS .

    Were any exhaust leaks found? 

    Yes 

    1. Repair as necessary.
    2. Perform PCM VERIFICATION TEST .

    No 

    1. Go to  2).
  2. 2) DTC IS ACTIVE 
    NOTE: Check for contaminants that may have damaged the O2 Sensor: contaminated fuel, unapproved silicone, oil and coolant.
    NOTE: It may be necessary to test drive the vehicle within the DTC monitoring conditions in order for this DTC to set.

    Start the engine and allow it to reach operating temperature.

    WARNING: When the engine is operating, do not stand in direct line with the fan. Do not put your hands near the pulleys, belts, or fan. Do not wear loose clothing. Failure to follow these instructions can result in personal injury or death.

    With a scan tool, select View DTCs.

    Is the status Active for this DTC? 

    Yes 

    1. Go to  3).

    No 

    1. Refer to the *CHECKING FOR AN INTERMITTENT CONDITION Diagnostic Procedure.
  3. 3) (K41) O2 1/1 SIGNAL CIRCUIT SHORTED TO VOLTAGE 
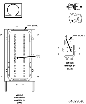
    Fig 1: Measuring Voltage On (K41) O2 1/1 Signal Circuit In Oxygen Sensor 1/1 Harness Connector
    GC0054007Courtesy of CHRYSLER LLC

    Turn the ignition off.

    Disconnect the Oxygen Sensor 1/1 harness connector.

    Turn the ignition on.

    Measure the voltage on the (K41) O2 1/1 Signal circuit in the Oxygen Sensor 1/1 harness connector.

    NOTE: Measure the voltage in reference to ground, not the (K902) O2 1/1 Return circuit.

    Is the voltage above 5.2 volts? 

    Yes 

    1. Repair the (K41) O2 1/1 Signal circuit for a short to voltage.
    2. Perform PCM VERIFICATION TEST .

    No 

    1. Go to  4).
  4. 4) (K902) O2 1/1 RETURN CIRCUIT SHORTED TO VOLTAGE 
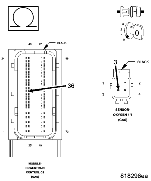
    Fig 2: Measuring Voltage On (K902) O2 1/1 Return Circuit In Oxygen Sensor 1/1 Harness Connector
    GC0054008Courtesy of CHRYSLER LLC

    Turn the ignition off.

    Disconnect the Powertrain Control Module (PCM) harness connector.

    Turn the ignition on.

    Measure the voltage on the (K902) O2 1/1 Return circuit in the Oxygen Sensor 1/1 harness connector.

    Is there any voltage present? 

    Yes 

    1. Repair the (K902) O2 1/1 Return circuit for a short to voltage.
    2. Perform PCM VERIFICATION TEST .

    No 

    1. Go to  5).
  5. 5) (K41) O2 1/1 SIGNAL CIRCUIT SHORTED TO GROUND 
    Fig 3: Checking O2 Sensor 1/1 Signal Circuit For Short To Ground
    GC0054009Courtesy of CHRYSLER LLC

    Turn the ignition off.

    Measure the resistance between ground and the (K41) O2 1/1 Signal circuit in the Oxygen Sensor 1/1 harness connector.

    Is the resistance below 100 ohms? 

    Yes 

    1. Repair the (K41) O2 1/1 Signal circuit for a short to ground.
    2. Perform PCM VERIFICATION TEST .

    No 

    1. Go to  6).
  6. 6) (K902) O2 1/1 RETURN CIRCUIT SHORTED TO GROUND 
    Fig 4: Checking O2 Sensor 1/1 Return Circuit For Short To Ground
    GC0054010Courtesy of CHRYSLER LLC

    Measure the resistance between ground and the (K902) O2 1/1 Return circuit in the Oxygen Sensor 1/1 harness connector.

    Is the resistance below 100 ohms? 

    Yes 

    1. Repair the (K902) O2 1/1 Return circuit for a short to ground.
    2. Perform PCM VERIFICATION TEST .

    No 

    1. Go to  7).
  7. 7) (K41) O2 1/1 SIGNAL CIRCUIT OPEN OR HIGH RESISTANCE 
    Fig 5: Checking O2 Sensor 1/1 Signal Circuit For Open Or High Resistance
    GC0054011Courtesy of CHRYSLER LLC

    Measure the resistance of the (K41) O2 1/1 Signal circuit between the Oxygen Sensor 1/1 harness connector to the Powertrain Control Module (PCM) harness connector.

    Is the resistance below 5.0 ohms? 

    Yes 

    1. Go to  8).

    No 

    1. Repair the (K41) O2 1/1 Signal circuit for an open circuit or high resistance.
    2. Perform PCM VERIFICATION TEST .
  8. 8) (K902) O2 1/1 RETURN CIRCUIT OPEN OR HIGH RESISTANCE 
    Fig 6: Checking O2 Sensor 1/1 Return Circuit For Open Or High Resistance
    GC0054012Courtesy of CHRYSLER LLC

    Measure the resistance of the (K902) O2 1/1 Return circuit between the Oxygen Sensor 1/1 harness connector to the Powertrain Control Module (PCM) harness connector.

    Is the resistance below 5.0 ohms? 

    Yes 

    1. Go to  9).

    No 

    1. Repair the (K902) O2 1/1 Return circuit for an open circuit or high resistance.
    2. Perform PCM VERIFICATION TEST .
  9. 9) OXYGEN SENSOR 1/1 
    NOTE: Prior to replacing the O2 sensor, verify that the correct part number is being used in order to prevent improper O2 heater control.

    Using the wiring diagram/schematic as a guide, inspect the wiring and connectors between the Oxygen Sensor 1/1 and the Powertrain Control Module (PCM).

    Look for any chafed, pierced, pinched, or partially broken wires.

    Look for broken, bent, pushed out or corroded terminals.

    Refer to any Technical Service Bulletins that may apply.

    Were any problems found? 

    Yes 

    1. Repair as necessary.
    2. Perform PCM VERIFICATION TEST .

    No 

    1. Replace the Oxygen Sensor 1/1 in accordance with the Service Information.
    2. Perform PCM VERIFICATION TEST .