lemon-mirror:
Home >> Jeep >> 2008 >> Compass Limited, FWD, Standard >> Repair and Diagnosis >> Engine Performance >> System >> DTCS P2009 To P2116 >> P2015-Intake Manifold Runner Position Sensor Performance >> Diagnostic Test

Diagnostic Test

  1. DTC IS ACTIVE 

    Start the engine.

    Allow the engine to reach normal operating temperature.

    NOTE: Diagnose and repair any system voltage or sensor reference voltage DTCs before continuing with this test.

    With the scan tool, select View DTCs.

    Is the status Active for this DTC? 

    Yes 

    1. Go To  2.

    No 

    1. Refer to the *CHECKING FOR AN INTERMITTENT CONDITION Diagnostic Procedure.
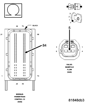
  2. (K857) 5 VOLT SUPPLY CIRCUIT VOLTAGE 
    Fig 1: Measuring Voltage Of (K857) 5-Volt Supply Circuit
    GC0054050Courtesy of CHRYSLER LLC

    Turn the ignition off.

    Disconnect the Manifold Flow Valve connector.

    Turn the ignition on.

    Measure the voltage of the (K857) 5 Volt Supply circuit in the Manifold Flow Valve harness connector.

    Is the voltage between 4.5 and 5.5 volts? 

    Yes 

    1. Go to  3.

    No 

    1. Go to  7.
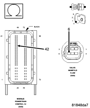
  3. (K602) MFV SIGNAL CIRCUIT VOLTAGE 
    Fig 2: Measuring Voltage Of (K602) MFV Signal Circuit In Manifold Flow Valve Harness Connector
    GC0054051Courtesy of CHRYSLER LLC

    Measure the voltage of the (K602) MFV Signal circuit in the Manifold Flow Valve harness connector.

    Is the voltage between 4.5 and 5.5 volts? 

    Yes 

    1. Go to  4.

    No 

    1. Go to  11.
  4. (K900) SENSOR GROUND CIRCUIT TEST 

    Turn the ignition off.

    Using a 12 volt test light connected to 12 volts, check the (K900) Sensor Ground in the Manifold Flow Valve harness connector.

    NOTE: The test light should be illuminated and bright. Compare the brightness to that of a direct connection to the battery.

    Is the test light illuminated and bright? 

    Yes 

    1. Go to  5.

    No 

    1. Go to  15.
  5. (K857) 5 VOLT SUPPLY CIRCUIT SHORTED TO THE (K602) MFV SIGNAL CIRCUIT 
    Fig 3: Measuring Resistance Between (K602) MFV Signal Circuit & (K857) 5-Volt Supply In Manifold Flow Valve Harness Connector
    GC0054052Courtesy of CHRYSLER LLC

    Turn the ignition off.

    Disconnect the Powertrain Control Module (PCM) connector.

    Measure the resistance between the (K857) 5 Volt Supply circuit and the (K602) MFV Signal circuit in the Manifold Flow Valve harness connector.

    Is the resistance above 100 ohms? 

    Yes 

    1. Go to  6.

    No 

    1. Repair the (K857) 5 Volt Supply circuit for a short to the (K602) MFV Signal circuit.
    2. Perform PCM VERIFICATION TEST .
  6. MANIFOLD FLOW VALVE 

    Using the wiring diagram/schematic as a guide, inspect the wiring and connectors between the Manifold Flow Valve and the Powertrain Control Module (PCM).

    Look for any chafed, pierced, pinched, or partially broken wires.

    Look for broken, bent, pushed out or corroded terminals.

    Inspect the Manifold Flow Valve for any condition that would result in an incorrect signal, such as damage or contamination.

    Were any problems found? 

    Yes 

    1. Repair as necessary.
    2. Perform PCM VERIFICATION TEST .

    No 

    1. Replace the Manifold Flow Valve.
    2. Perform PCM VERIFICATION TEST .
  7. (K857) 5 VOLT SUPPLY CIRCUIT SHORTED TO VOLTAGE 
    Fig 4: Measuring Voltage Of (K857) 5-Volt Supply Circuit
    GC0054050Courtesy of CHRYSLER LLC

    Turn the ignition off.

    Disconnect the Powertrain Control Module (PCM) connector.

    Turn the ignition on.

    Measure the voltage of the (K857) 5 Volt Supply circuit in the Manifold Flow Valve harness connector.

    Is there any voltage present? 

    Yes 

    1. Repair the (K857) 5 Volt Supply circuit for a short to voltage.
    2. Perform PCM VERIFICATION TEST .

    No 

    1. Go to  8.
  8. (K857) 5 VOLT SUPPLY CIRCUIT SHORTED TO GROUND 
    Fig 5: Measuring Resistance Between Ground & (K857) 5-Volt Supply Circuit In Manifold Flow Valve Harness Connector
    GC0054053Courtesy of CHRYSLER LLC

    Turn the ignition off.

    Measure the resistance between ground and the (K857) 5 Volt Supply circuit in the Manifold Flow Valve harness connector.

    Is the resistance above 100 ohms? 

    Yes 

    1. Go to  9.

    No 

    1. Repair the (K857) 5 Volt Supply circuit for a short to ground.
    2. Perform PCM VERIFICATION TEST .
  9. (K857) 5 VOLT SUPPLY CIRCUIT SHORTED TO THE (K900) SENSOR GROUND CIRCUIT 
    Fig 6: Checking 5 Volt Supply Circuit For Short To Sensor Ground Circuit
    GC0054054Courtesy of CHRYSLER LLC

    Measure the resistance between the (K857) 5 Volt Supply circuit and the (K900) Sensor Ground circuit in the Manifold Flow Valve harness connector.

    Is the resistance above 100 ohms? 

    Yes 

    1. Go to  10.

    No 

    1. Repair the (K857) 5 Volt Supply circuit for a short to the (K900) Sensor Ground circuit.
    2. Perform PCM VERIFICATION TEST .
  10. (K857) 5 VOLT SUPPLY CIRCUIT OPEN OR HIGH RESISTANCE 
    Fig 7: Checking 5 Volt Supply Circuit For Open Or High Resistance
    GC0054055Courtesy of CHRYSLER LLC

    Measure the resistance of the (K857) 5 Volt Supply circuit between the Manifold Flow Valve harness connector and the Powertrain Control Module (PCM) harness connector.

    Is the resistance below 5.0 ohms? 

    Yes 

    1. Go to  16.

    No 

    1. Repair the (K857) 5 Volt Supply circuit for an open circuit or high resistance.
    2. Perform PCM VERIFICATION TEST .
  11. (K602) MFV SIGNAL CIRCUIT SHORTED TO VOLTAGE 
    Fig 8: Measuring Voltage Of (K602) MFV Signal Circuit In Manifold Flow Valve Harness Connector
    GC0054051Courtesy of CHRYSLER LLC

    Turn the ignition off.

    Disconnect the Powertrain Control Module (PCM) connector.

    Turn the ignition on.

    Measure the voltage of the (K602) MFV Signal circuit in the Manifold Flow Valve harness connector.

    Is there any voltage present? 

    Yes 

    1. Repair the (K602) MFV Signal circuit for a short to voltage.
    2. Perform PCM VERIFICATION TEST .

    No 

    1. Go to  12.
  12. (K602) MFV SIGNAL CIRCUIT SHORTED TO GROUND 
    Fig 9: Measuring Resistance Between Ground & (K602) MFV Signal Circuit In Manifold Flow Valve Harness Connector
    GC0054056Courtesy of CHRYSLER LLC

    Turn the ignition off.

    Measure the resistance between ground and the (K602) MFV Signal circuit in the Manifold Flow Valve harness connector.

    Is the resistance above 100 ohms? 

    Yes 

    1. Go to  13.

    No 

    1. Repair the (K602) MFV Signal circuit for a short to ground.
    2. Perform PCM VERIFICATION TEST .
  13. (K602) MFV SIGNAL CIRCUIT SHORTED TO (K900) SENSOR GROUND CIRCUIT 
    Fig 10: Checking MFV Signal Circuit For Short To Sensor Ground Circuit
    GC0054057Courtesy of CHRYSLER LLC

    Measure the resistance between the (K602) MFV Signal circuit and the (K900) Sensor Ground circuit in the Manifold Flow Valve harness connector.

    Is the resistance above 100 ohms? 

    Yes 

    1. Go to  14.

    No 

    1. Repair the (K602) MFV Signal circuit for a short to the (K900) Sensor Ground circuit.
    2. Perform PCM VERIFICATION TEST .
  14. (K602) MFV SIGNAL CIRCUIT OPEN OR HIGH RESISTANCE 
    Fig 11: Checking MFV Signal Circuit For Open Or High Resistance
    GC0054058Courtesy of CHRYSLER LLC

    Measure the resistance of the (K602) MFV Signal circuit between the Manifold Flow Valve harness connector and the Powertrain Control Module (PCM) harness connector.

    Is the resistance below 5.0 ohms? 

    Yes 

    1. Go to  16.

    No 

    1. Repair the (K602) MFV Signal circuit for an open circuit or high resistance.
    2. Perform PCM VERIFICATION TEST .
  15. (K900) SENSOR GROUND CIRCUIT OPEN OR HIGH RESISTANCE 
    Fig 12: Checking Sensor Ground Circuit For Open Or High Resistance
    GC0054059Courtesy of CHRYSLER LLC

    Turn the ignition off.

    Disconnect the Powertrain Control Module (PCM) connector.

    Measure the resistance of the (K900) Sensor Ground circuit between the Manifold Flow Valve harness connector and the Powertrain Control Module (PCM) harness connector.

    Is the resistance below 5.0 ohms? 

    Yes 

    1. Go to  16.

    No 

    1. Repair the circuit for an open circuit or high resistance.
    2. Perform PCM VERIFICATION TEST .
  16. POWERTRAIN CONTROL MODULE (PCM) 

    Using the wiring diagram/schematic as a guide, inspect the wiring and connectors between the Manifold Flow Valve and the Powertrain Control Module (PCM).

    Look for any chafed, pierced, pinched, or partially broken wires.

    Look for broken, bent, pushed out or corroded terminals.

    Monitor the scan tool data relative to this circuit and wiggle test the wiring and connectors.

    Look for the data to change or for the DTC to reset during the wiggle test.

    Refer to any Technical Service Bulletins that may apply.

    Were any problems found? 

    Yes 

    1. Repair as necessary.
    2. Perform PCM VERIFICATION TEST .

    No 

    1. Replace and program the Powertrain Control Module (PCM) in accordance with the Service Information.
    2. Perform PCM VERIFICATION TEST .