lemon-mirror:
Home >> Jeep >> 2010 >> Commander Limited, RWD >> Repair and Diagnosis >> Electrical >> Component Locations >> Electrical Component Locator >> Component Location Graphics

Component Location Graphics

NOTE: Figures may show multiple component locations. Refer to appropriate table for proper figure references.
Fig 1: Integrated Power Module
G00418140Courtesy of CHRYSLER LLC
Fig 2: Power Distribution Center
G00467439Courtesy of CHRYSLER LLC
Fig 3: Junction Block
G00467440Courtesy of CHRYSLER LLC
Fig 4: Front Of Engine Compartment
G00508816Courtesy of CHRYSLER LLC
Fig 5: Front Of Engine Compartment
G00508817Courtesy of CHRYSLER LLC
Fig 6: Right Rear Body
G00508818Courtesy of CHRYSLER LLC
Fig 7: Driver Door
G00508820Courtesy of CHRYSLER LLC
Fig 8: Left Side Of Engine
G00508821Courtesy of CHRYSLER LLC
Fig 9: Left Rear Corner Of Engine Compartment
G00508822Courtesy of CHRYSLER LLC
Fig 10: Left Rear Body
G00508823Courtesy of CHRYSLER LLC
Fig 11: Left And Right Side Of Engine Compartment
G00508824Courtesy of CHRYSLER LLC
Fig 12: Left Side Of Engine Compartment
G00508825Courtesy of CHRYSLER LLC
Fig 13: Left Side Of Engine Compartment
G00508826Courtesy of CHRYSLER LLC
Fig 14: Below Center Console
G00508827Courtesy of CHRYSLER LLC
Fig 15: Right Side Body
G00508828Courtesy of CHRYSLER LLC
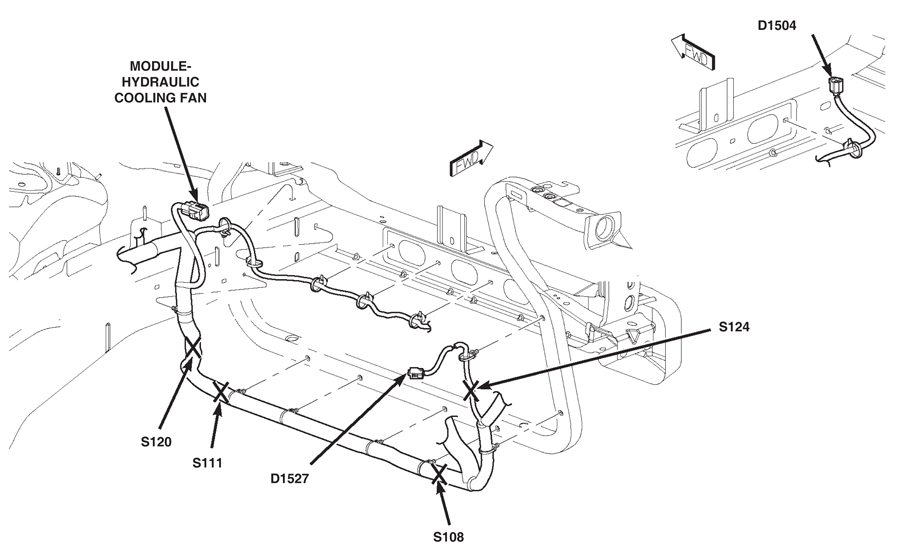
Fig 16: Center Underbody
G00508829Courtesy of CHRYSLER LLC
Fig 17: Left Side Body
G00508830Courtesy of CHRYSLER LLC
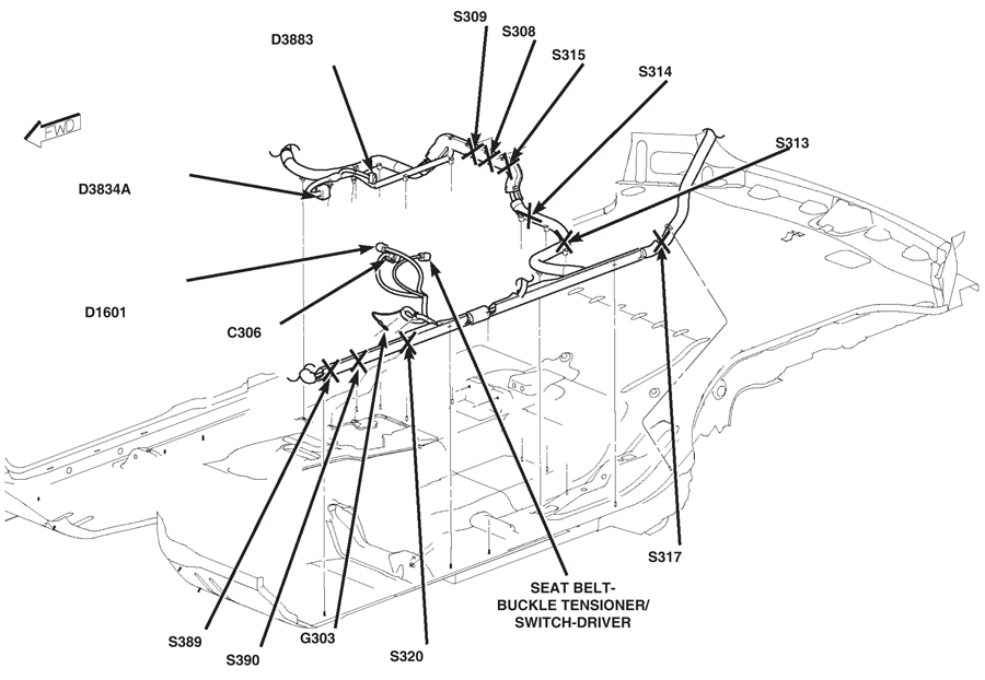
Fig 18: Center Underbody
G00508832Courtesy of CHRYSLER LLC
Fig 19: Passenger Seat Side
G00508833Courtesy of CHRYSLER LLC
Fig 20: Left Rear Door Shown; Right Rear Is Similar
G00508834Courtesy of CHRYSLER LLC
Fig 21: Right Door
G00508835Courtesy of CHRYSLER LLC
Fig 22: Liftgate
G00508836Courtesy of CHRYSLER LLC
Fig 23: Left Front Of Engine Compartment
G00508837Courtesy of CHRYSLER LLC
Fig 24: Rear Underbody
G00508838Courtesy of CHRYSLER LLC
Fig 25: Right Passenger Door
G00508839Courtesy of CHRYSLER LLC
Fig 26: Liftgate
G00508840Courtesy of CHRYSLER LLC
Fig 27: Left Rear Door Shown; Right Rear Is Similar
G00508841Courtesy of CHRYSLER LLC
Fig 28: Lower Left Of Dash
G00508842Courtesy of CHRYSLER LLC
Fig 29: Right Side Of Engine
G00508843Courtesy of CHRYSLER LLC
Fig 30: Left Front Of Engine Compartment
G00508844Courtesy of CHRYSLER LLC
Fig 31: Right Side Of Engine
G00508845Courtesy of CHRYSLER LLC
Fig 32: Left Side Of Engine
G00508846Courtesy of CHRYSLER LLC
Fig 33: Right Side Of Engine
G00508847Courtesy of CHRYSLER LLC
Fig 34: Left Side Of Engine
G00508848Courtesy of CHRYSLER LLC
Fig 35: Transmission
G00508849Courtesy of CHRYSLER LLC
Fig 36: Transmission
G00508850Courtesy of CHRYSLER LLC
Fig 37: Transmission
G00508851Courtesy of CHRYSLER LLC
Fig 38: Rear Bumper
G00508852Courtesy of CHRYSLER LLC
Fig 39: Rear Bumper
G00508853Courtesy of CHRYSLER LLC
Fig 40: Rear Bumper
G00508854Courtesy of CHRYSLER LLC
Fig 41: Left Side Of Body
G00508855Courtesy of CHRYSLER LLC
Fig 42: Left Rear Body
G00508856Courtesy of CHRYSLER LLC
Fig 43: Left Rear Body
G00508857Courtesy of CHRYSLER LLC
Fig 44: Right Rear Body
G00508858Courtesy of CHRYSLER LLC
Fig 45: Left And Right Side Of Engine Compartment
G00508859Courtesy of CHRYSLER LLC
Fig 46: Rear Underbody
G00508860Courtesy of CHRYSLER LLC
Fig 47: Left And Right Side Of Engine Compartment
G00508861Courtesy of CHRYSLER LLC
Fig 48: Rear Underbody
G00508862Courtesy of CHRYSLER LLC
Fig 49: Right Front Of Engine Compartment
G00508863Courtesy of CHRYSLER LLC
Fig 50: Left Side Of Engine Compartment
G00508864Courtesy of CHRYSLER LLC
Fig 51: Left Front Of Engine Compartment
G00508865Courtesy of CHRYSLER LLC
Fig 52: Below Center Console
G00508866Courtesy of CHRYSLER LLC
Fig 53: Lower Left Of Dash
G00508867Courtesy of CHRYSLER LLC
Fig 54: Center Console
G00508868Courtesy of CHRYSLER LLC
Fig 55: Right Rear Of Engine Compartment
G00508869Courtesy of CHRYSLER LLC
Fig 56: Center Underbody
G00508870Courtesy of CHRYSLER LLC
Fig 57: Below Center Console
G00508871Courtesy of CHRYSLER LLC
Fig 58: Passenger Seat Bottom
G00508872Courtesy of CHRYSLER LLC
Fig 59: Left Side Of Engine Compartment
G00508873Courtesy of CHRYSLER LLC
Fig 60: Left Side Of Engine Compartment
G00508874Courtesy of CHRYSLER LLC
Fig 61: Left Rear Body
G00508875Courtesy of CHRYSLER LLC
Fig 62: Center Underbody
G00508877Courtesy of CHRYSLER LLC
Fig 63: Left Front Body
G00508878Courtesy of CHRYSLER LLC
Fig 64: Left Side HVAC
G00508879Courtesy of CHRYSLER LLC
Fig 65: Right Side HVAC
G00508880Courtesy of CHRYSLER LLC
Fig 66: Left Side HVAC
G00508881Courtesy of CHRYSLER LLC
Fig 67: Front Of Engine Compartment
G00508882Courtesy of CHRYSLER LLC
Fig 68: Right Side HVAC
G00508883Courtesy of CHRYSLER LLC
Fig 69: Left Side Of Engine Compartment
G00508884Courtesy of CHRYSLER LLC
Fig 70: Right Side Of Engine
G00508885Courtesy of CHRYSLER LLC
Fig 71: Left Side Body
G00508886Courtesy of CHRYSLER LLC
Fig 72: Right Side Of Engine
G00508887Courtesy of CHRYSLER LLC
Fig 73: Left Side HVAC
G00508888Courtesy of CHRYSLER LLC
Fig 74: Transmission
G00508889Courtesy of CHRYSLER LLC
Fig 75: Right Side Of Engine
G00508891Courtesy of CHRYSLER LLC
Fig 76: Transmission
G00508892Courtesy of CHRYSLER LLC
Fig 77: Lower Left Dash
G00508893Courtesy of CHRYSLER LLC
Fig 78: Steering Wheel
G00508894Courtesy of CHRYSLER LLC
Fig 79: Steering Wheel
G00508895Courtesy of CHRYSLER LLC
Fig 80: Right Side Of Dash
G00508896Courtesy of CHRYSLER LLC
Fig 81: Left Side Of Engine Compartment
G00508897Courtesy of CHRYSLER LLC
Fig 82: Right Front Of Engine Compartment
G00508898Courtesy of CHRYSLER LLC
Fig 83: Left Side Of Engine
G00508899Courtesy of CHRYSLER LLC
Fig 84: Left Side Of Body
G00508900Courtesy of CHRYSLER LLC
Fig 85: Right Side Of Body
G00508901Courtesy of CHRYSLER LLC
Fig 86: Right Front Wheel Well Shown; Left Is Similar
G00508902Courtesy of CHRYSLER LLC
Fig 87: Right Front Wheel Well Shown; Left Is Similar
G00508903Courtesy of CHRYSLER LLC
Fig 88: Right Rear Underbody
G00508904Courtesy of CHRYSLER LLC
Fig 89: Rear Underbody
G00508905Courtesy of CHRYSLER LLC
Fig 90: Rear Underbody
G00508906Courtesy of CHRYSLER LLC
Fig 91: Left Rear Body
G00508907Courtesy of CHRYSLER LLC
Fig 92: Right Rear Body
G00508908Courtesy of CHRYSLER LLC