lemon-mirror:
Home >> Jeep >> 2021 >> Cherokee Trailhawk >> Repair and Diagnosis >> Restraints >> Restraints Control Systems >> Restraints System (Service Information) >> Sensor, Impact >> Installation >> Front

Sensor, Impact: Installation: Front

WARNING:

To avoid serious or fatal injury on vehicles equipped with airbags, disable the Supplemental Restraint System (SRS) before attempting any steering wheel, steering column, airbag, Occupant Classification System (OCS), seat belt tensioner, impact sensor or instrument panel component diagnosis or service. Disconnect and isolate the battery negative (ground) cable, then wait two minutes for the system capacitor to discharge before performing further diagnosis or service. This is the only sure way to disable the SRS. Failure to follow these instructions may result in accidental airbag deployment.

WARNING:

To avoid serious or fatal injury, never strike or drop the front impact sensor, as it can damage the impact sensor or affect its calibration. The front impact sensor enables the system to deploy the front Supplemental Restraint System (SRS) components. If an impact sensor is accidentally dropped during service, the sensor must be scrapped and replaced with a new unit. Failure to observe this warning could result in accidental, incomplete, or improper front SRS component deployment.

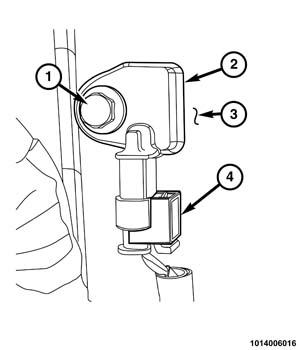
GC0159787Courtesy of CHRYSLER GROUP, LLC
NOTE:

The front and the side impact sensors are NOT interchangeable.

  1. Position the appropriate right or left front impact sensor (2) to the back of the Front End Module (FEM) carrier (3) just outboard of the cooling module.
  2. Be certain to engage the locating pin integral to the back of the sensor into the locating hole in the FEM carrier.
  3. Install the fastener (1) that secures the sensor to the back of the FEM carrier. Tighten the screw to the proper torque specification. Refer to TORQUE SPECIFICATIONS  .
  4. Connect the FEM wire harness connector (4) to the impact sensor.
  5. For the right impact sensor if equipped with 2.4L only, install the engine air cleaner housing. Refer to INSTALLATION .
  6. Do not connect the negative battery cable at this time. The Supplemental Restraint System (SRS) Verification Test procedure should be performed following service of any SRS component. Refer to SUPPLEMENTAL RESTRAINT SYSTEM VERIFICATION TEST  .