lemon-mirror:
Home >> Jeep >> 2021 >> Grand Cherokee Trackhawk >> Repair and Diagnosis >> Engine Performance >> Fuel Delivery >> Fuel System >> Fuel Injection, Diesel >> Sensor, Crankshaft Position >> Installation

Sensor, Crankshaft Position: Installation

GC0146603Courtesy of CHRYSLER GROUP, LLC
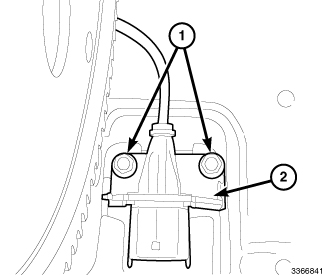
  1. Clean the area and bore around Crankshaft Position (CKP) sensor.
  2. Install the CKP sensor (2). Tighten the bolt (1) to 6 N. m (53 in. lbs.).
    GC0146606Courtesy of CHRYSLER GROUP, LLC
  3. Install the bolts (1) attaching the harness connector bracket (2) to oil pan and tighten to 8 N. m (71 in. lbs.).
    GC0146607Courtesy of CHRYSLER GROUP, LLC
  4. Connect the CKP sensor wire harness connector (1).
  5. Install the flexplate. Refer to the appropriate service information .
  6. Connect the negative battery cable.