lemon-mirror:
Home >> Kia >> 2002 >> Spectra Base, Automatic >> Repair and Diagnosis >> Body & Frame >> Power Mirrors >> Component Tests >> Power Mirror Motor

Power Mirror Motor

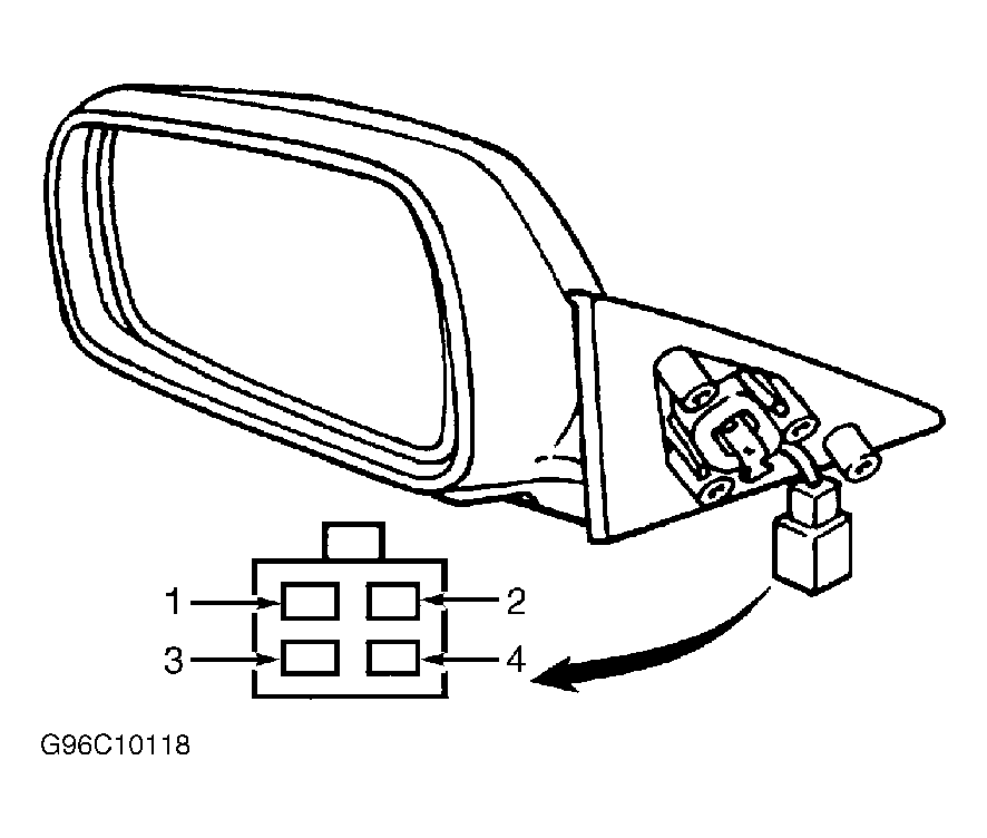
Disconnect power mirror motor connector. Check for continuity between power mirror motor terminals No. 1, 3 and 4. See Fig 1 . If continuity exists between specified terminals, motor is okay. Reconnect power mirror motor connector. If continuity does not exist between one or more terminals, replace power mirror motor.

Fig 1: Identifying Power Mirror Motor Connector Terminals
G96C10118Courtesy of KIA MOTORS AMERICA, INC.