lemon-mirror:
Home >> Kia >> 2003 >> Sorento EX, RWD >> Repair and Diagnosis >> Body & Frame >> Power Windows >> Power Window Switch >> Inspection

Power Window Switch: Inspection

  1. Remove the switch from the door trim panel.
  2. Check for continuity between the terminals. If continuity is not as specified in the illustration, replace the power window switch.
    Fig 1: Illustrating Switch Connector Pinout
    G01140499Courtesy of KIA MOTORS AMERICA, INC.
    Fig 2: Illustrating Switch Continuity
    G01140498Courtesy of KIA MOTORS AMERICA, INC.
    Fig 3: Illustrating Power Window Lock Switch Continuity
    G01140500Courtesy of KIA MOTORS AMERICA, INC.
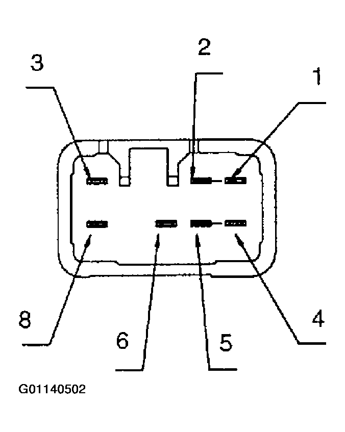
    Fig 4: Illustrating Sub Switch Connector Pinout
    G01140502Courtesy of KIA MOTORS AMERICA, INC.
    Fig 5: Illustrating Power Window Sub Switch Continuity
    G01140501Courtesy of KIA MOTORS AMERICA, INC.