lemon-mirror:
Home >> Kia >> 2003 >> Spectra Base, Automatic >> Repair and Diagnosis >> Brakes >> Traction Control >> Anti Lock Brakes >> Abs Operating Modes >> Dump Mode-Brake Pressure Decreasing

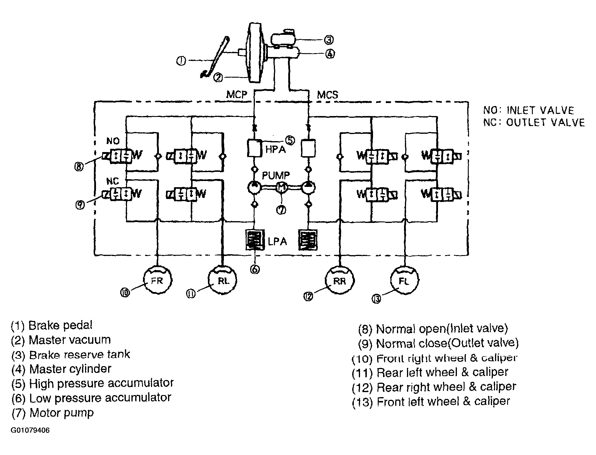
Dump Mode-Brake Pressure Decreasing

Fig 1: Illustrating Dump Mode-Brake Pressure Decreasing
G01079406Courtesy of KIA MOTORS AMERICA, INC.

Operating condition 

Fig 2: Dump Mode-Brake Pressure Decreasing Operation Chart
G01079407Courtesy of KIA MOTORS AMERICA, INC.

If wheels are about to be locked at sudden braking, ABS ECU outputs the signal decreasing the liquid pressure in solenoid valve, and each solenoid valve is turned ON. At this time the solenoid valve IN is shut and interrupts the liquid channel from master cylinder. And solenoid valve OUT is opened and releases the liquid channel from wheel cylinder to the reservoir therefore the liquid pressure in wheel cylinder passes the solenoid valve OUT to arrive at reservoir so that pressure is decreased.