lemon-mirror:
Home >> Kia >> 2003 >> Spectra Base, Automatic >> Repair and Diagnosis >> Brakes >> Traction Control >> Anti Lock Brakes >> Abs Operating Modes >> When Abs Is Not Operated

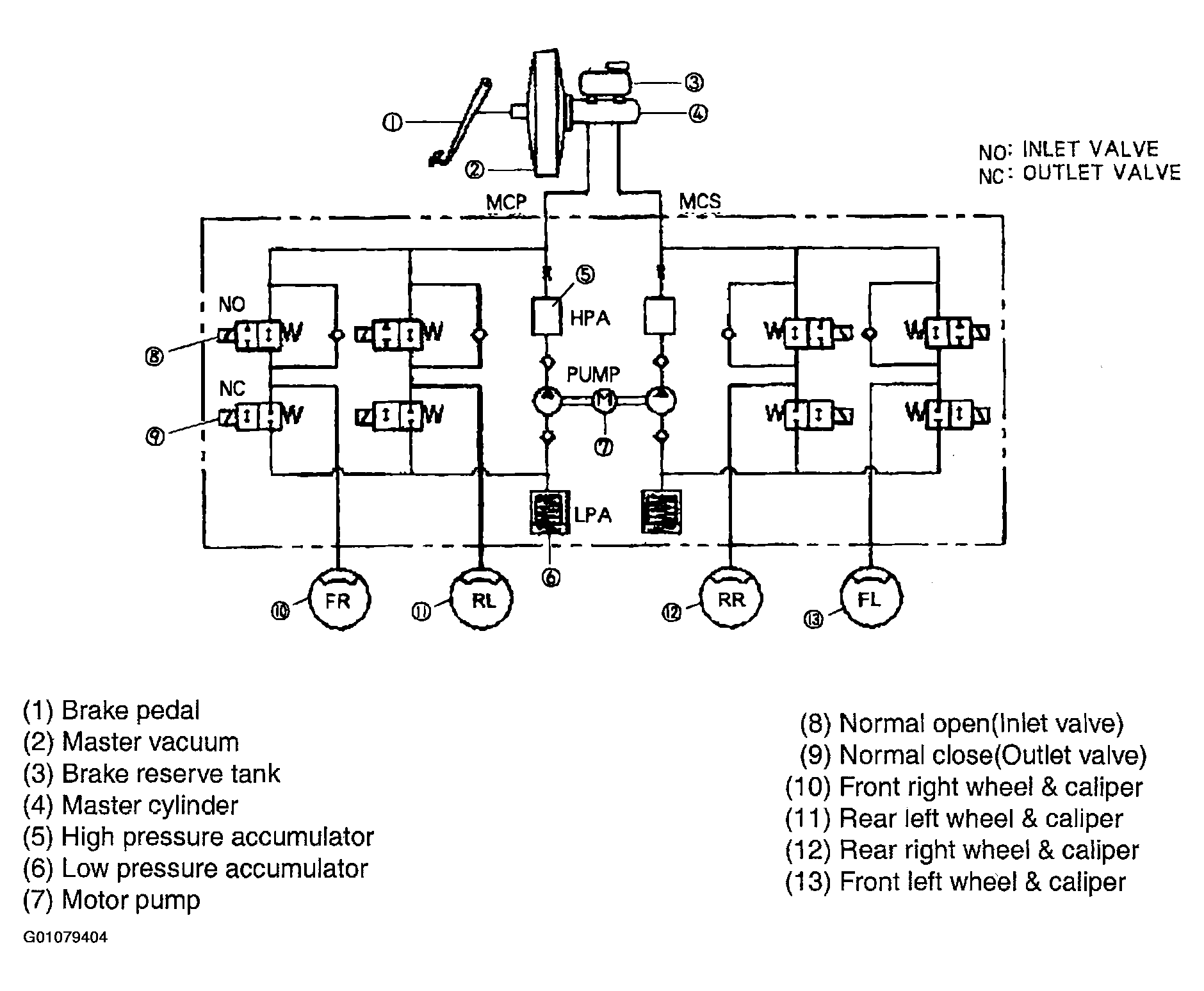
When Abs Is Not Operated

Fig 1: Illustrating When ABS Is Not Operated
G01079404Courtesy of KIA MOTORS AMERICA, INC.

Operating condition 

Fig 2: When ABS Is Not Operated Chart (Solenoid Applications)
G01079405Courtesy of KIA MOTORS AMERICA, INC.

In ordinary brakes, each solenoid valve is turned OFF when electricity is turned on from ABS ECU to the solenoid valve IN, OUT.

As for solenoid valve at this time, IN is opened and OUT is closed by spring action. If brake pedal is pushed down, master cylinder liquid pressure passes the solenoid valve and arrives at wheel cylinder, and the brake acts.

Afterwards if brake pedal is released, the liquid pressure passes IN and check valve to return to master cylinder, then brake is released.