lemon-mirror:
Home >> Kia >> 2003 >> Spectra Base, Automatic >> Repair and Diagnosis >> Engine Performance >> Vacuum Diagrams >> Introduction

Vacuum Diagrams: Introduction

This article contains schematics of vacuum hose routing. Use these vacuum diagrams during the visual inspection in BASIC DIAGNOSTIC PROCEDURES article. This will assist in identifying improperly routed vacuum hoses which cause driveability and/or computer-indicated malfunctions.

Fig 1: Vacuum Diagram (Optima & Magentis (Canadian) 2.4L)
G00038168Courtesy of KIA MOTORS AMERICA, INC.
Fig 2: Vacuum Diagram (Optima & Magentis (Canadian) 2.7L)
G00038167Courtesy of KIA MOTORS AMERICA, INC.
Fig 3: Vacuum Diagram (Rio 1.6L)
G00038166Courtesy of KIA MOTORS AMERICA, INC.
Fig 4: Vacuum Diagram (Sedona 3.5L)
G00082427Courtesy of KIA MOTORS AMERICA, INC.
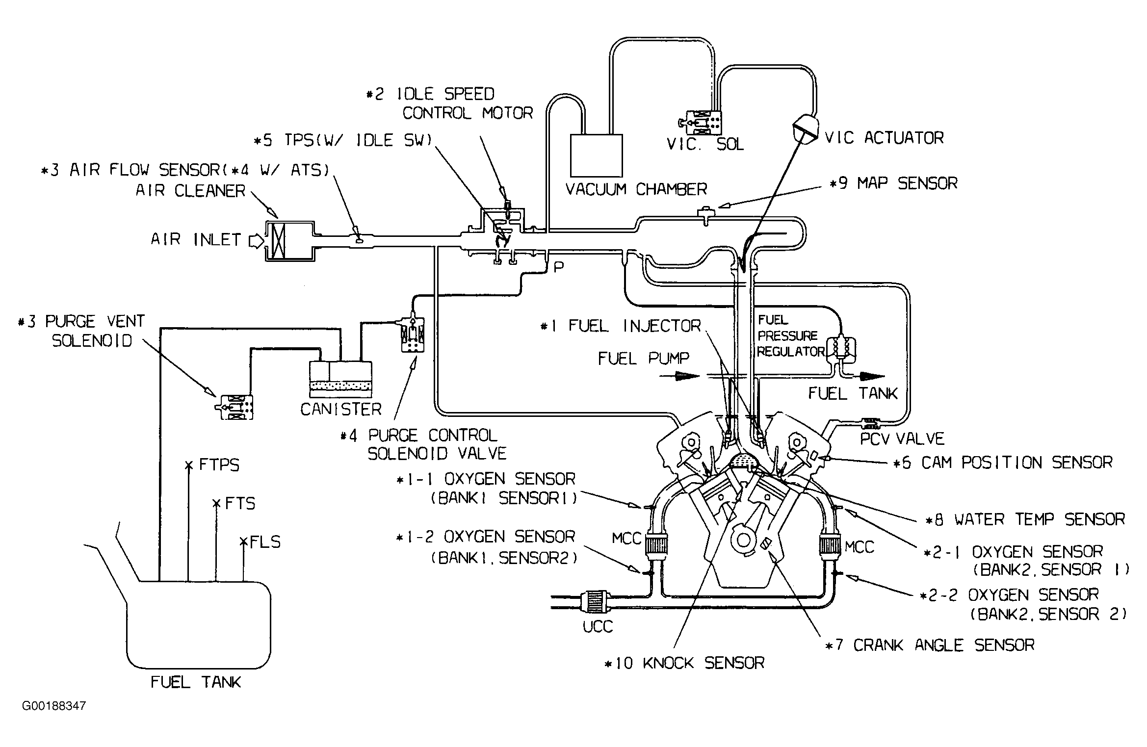
Fig 5: Vacuum Diagram (Sorento 3.5L)
G00188347Courtesy of KIA MOTORS AMERICA, INC.
Fig 6: Vacuum Diagram (Spectra 1.8L)
G99G08377Courtesy of KIA MOTORS AMERICA, INC.