lemon-mirror:
Home >> Kia >> 2003 >> Spectra Base, Standard >> Repair and Diagnosis >> Engine Performance >> Fuel Delivery System >> Fuel Delivery System >> Quick Connector >> Removal

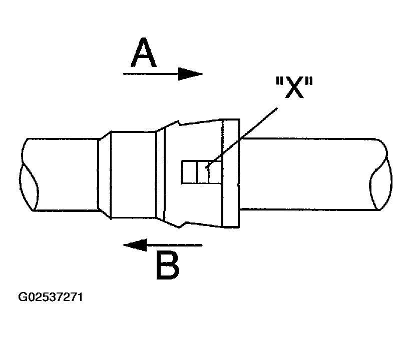
Quick Connector: Removal

NOTE: Release fuel system pressure before servicing any fuel system connection. See RELEASING FUEL SYSTEM PRESSURE  .
  1. Push quick connector to direction "A"
  2. Squeeze both sides of lock retainer and pull connection apart to direction "B"
    Fig 1: Removing Quick Connector
    G02537271Courtesy of KIA MOTORS AMERICA, INC.
    CAUTION: Don't push and pull too hard.