lemon-mirror:
Home >> Kia >> 2004 >> Amanti >> Repair and Diagnosis >> Electrical >> Component Locations >> Electrical Component Locator >> Control Units

Control Units

CONTROL UNITS LOCATION

Component Location
ABS & TCS Unit At right rear of engine compartment. See Figure .
Airbag Control Unit Below center console. See Figure .
Air Con Control Unit Center of dash. See Figure .
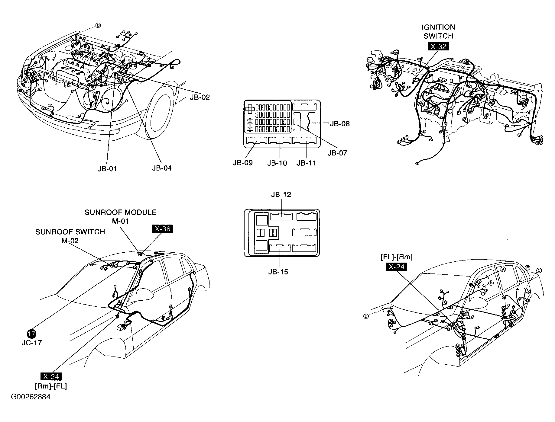
BCM Below left side of dash. See Figure .
Diversity Antenna Module Right side of luggage compartment. See Figure .
Engine/Transaxle Control Module Behind lower center of dash. See Figure .
EPS Unit Behind right side of dash. See Figure .
ETS Unit Right rear of engine compartment. See Figure .
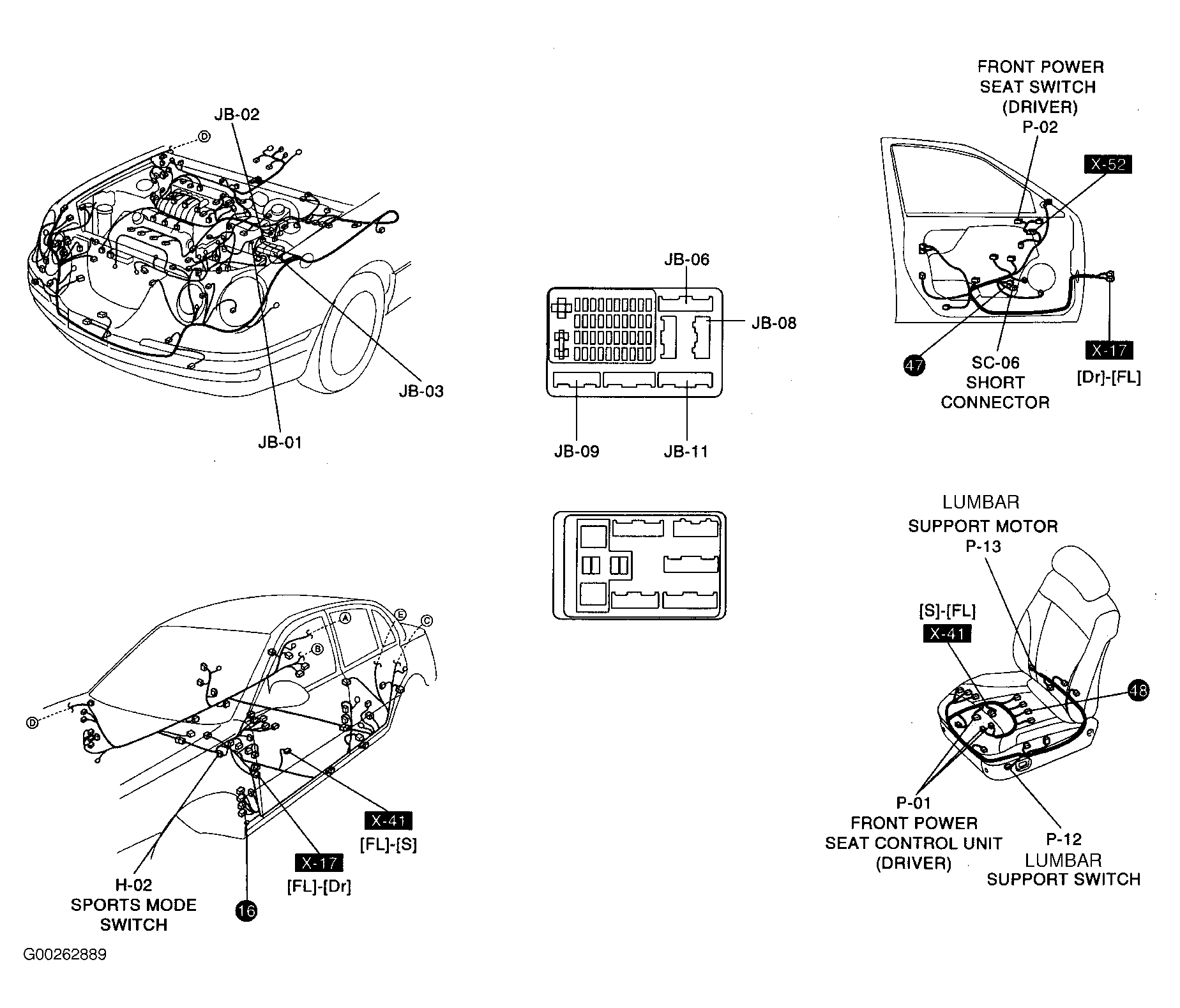
Power Seat Control Unit (Driver's) Below driver's seat.Figure .
Power Window Safety Control Unit (Left Front) In left front door. See Figure .
Power Window Safety Control Unit (Left Rear) In left rear door. See Figure .
Power Window Safety Control Unit (Right Front) In right front door. See Figure .
Power Window Safety Control Unit (Right Rear) In right rear door. See Figure .
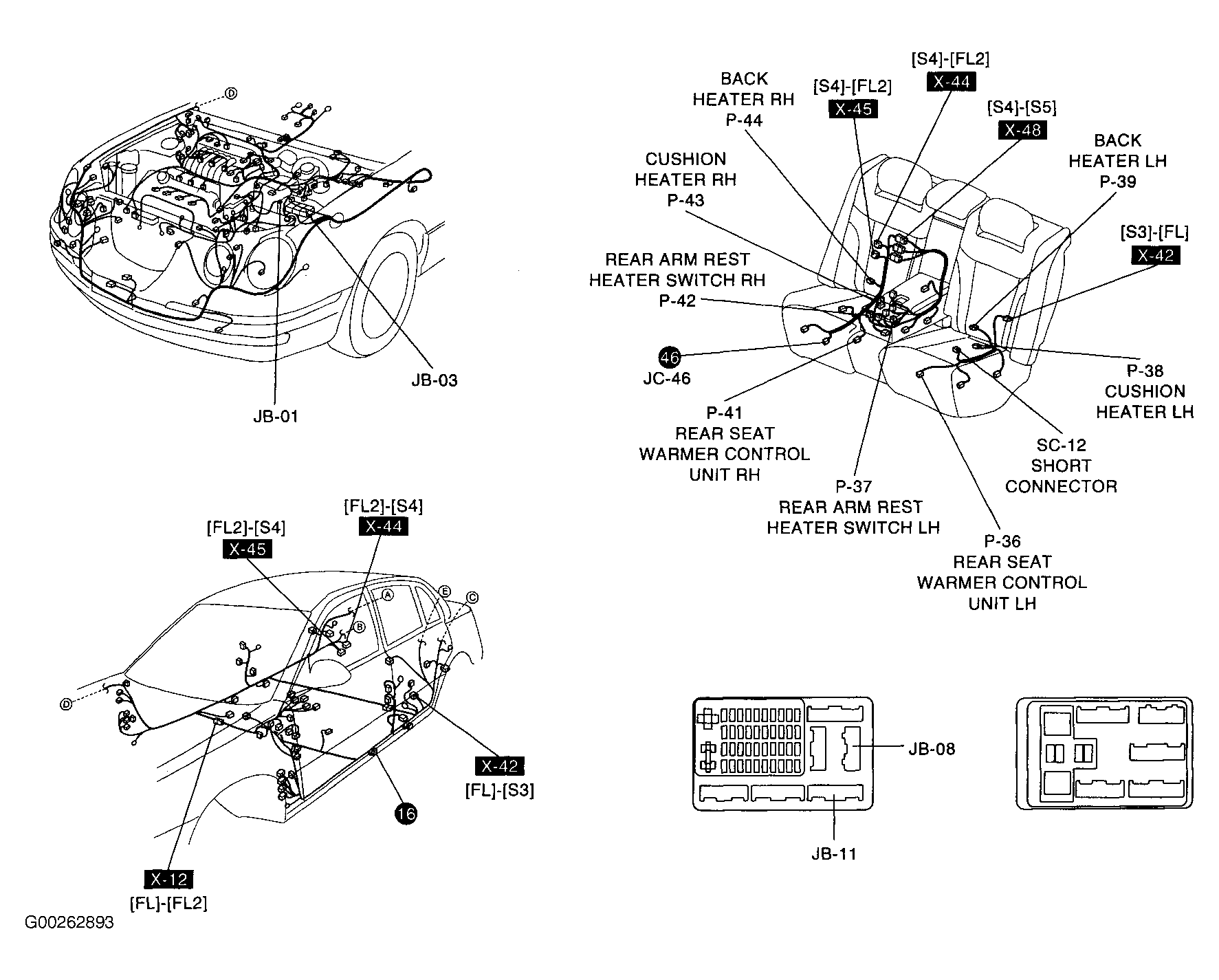
Seat Warmer Control Unit (Left Front) Below left front seat. See Figure .
Seat Warmer Control Unit (Left Rear) Below left rear seat. See Figure .
Seat Warmer Control Unit (Right Front) Below right front seat. See Figure .
Seat Warmer Control Unit (Right Rear) Below right rear seat. See Figure .
Sunroof Module In roof panel. See Figure .
Trip Computer Top center of dash. See Figure .