lemon-mirror:
Home >> Kia >> 2004 >> Optima EX, 2.4 6 >> Repair and Diagnosis >> Electrical >> Component Locations >> Electrical Component Locator >> Component Location Graphics

Component Location Graphics

NOTE: Figures may show multiple component locations. Refer to appropriate table for proper figure references
Fig 1: Ground Points
G00262900Courtesy of KIA MOTORS AMERICA, INC.
Fig 2: Ground Points
G00262901Courtesy of KIA MOTORS AMERICA, INC.
Fig 3: Starting System
G00262902Courtesy of KIA MOTORS AMERICA, INC.
Fig 4: Charging System
G00262903Courtesy of KIA MOTORS AMERICA, INC.
Fig 5: Engine Control System (2.7L)
G00262904Courtesy of KIA MOTORS AMERICA, INC.
Fig 6: Engine Control System (2.7L)
G00262905Courtesy of KIA MOTORS AMERICA, INC.
Fig 7: Engine Control System (2.7L)
G00262906Courtesy of KIA MOTORS AMERICA, INC.
Fig 8: Engine Control System (2.7L)
G00262907Courtesy of KIA MOTORS AMERICA, INC.
Fig 9: Engine Control System (2.7L)
G00262908Courtesy of KIA MOTORS AMERICA, INC.
Fig 10: Engine/Transaxle Control System (2.4L, A/T)
G00262909Courtesy of KIA MOTORS AMERICA, INC.
Fig 11: Engine/Transaxle Control System (2.4L, A/T)
G00262910Courtesy of KIA MOTORS AMERICA, INC.
Fig 12: Engine/Transaxle Control System (2.4L, A/T)
G00262911Courtesy of KIA MOTORS AMERICA, INC.
Fig 13: Engine/Transaxle Control System (2.4L, A/T)
G00262912Courtesy of KIA MOTORS AMERICA, INC.
Fig 14: Engine/Transaxle Control System (2.4L, A/T)
G00262913Courtesy of KIA MOTORS AMERICA, INC.
Fig 15: Engine Control System (2.4L, M/T)
G00262914Courtesy of KIA MOTORS AMERICA, INC.
Fig 16: Engine Control System (2.4L, M/T)
G00262915Courtesy of KIA MOTORS AMERICA, INC.
Fig 17: Engine Control System (2.4L, M/T)
G00262916Courtesy of KIA MOTORS AMERICA, INC.
Fig 18: Engine Control System (2.4L, M/T)
G00262917Courtesy of KIA MOTORS AMERICA, INC.
Fig 19: Cooling System
G00262918Courtesy of KIA MOTORS AMERICA, INC.
Fig 20: Instrument Cluster & Warning Lamps
G00262919Courtesy of KIA MOTORS AMERICA, INC.
Fig 21: Instrument Cluster & Warning Lamps
G00262920Courtesy of KIA MOTORS AMERICA, INC.
Fig 22: Instrument Cluster & Warning Lamps
G00262921Courtesy of KIA MOTORS AMERICA, INC.
Fig 23: Wiper/Washer System
G00262922Courtesy of KIA MOTORS AMERICA, INC.
Fig 24: Headlights
G00262923Courtesy of KIA MOTORS AMERICA, INC.
Fig 25: Headlight (Auto Lamp)
G00262924Courtesy of KIA MOTORS AMERICA, INC.
Fig 26: Daytime Running Lights
G00262925Courtesy of KIA MOTORS AMERICA, INC.
Fig 27: Taillights
G00262926Courtesy of KIA MOTORS AMERICA, INC.
Fig 28: Turn & Hazard Flasher Unit
G00262927Courtesy of KIA MOTORS AMERICA, INC.
Fig 29: Stop Lights
G00262928Courtesy of KIA MOTORS AMERICA, INC.
Fig 30: Horns
G00262929Courtesy of KIA MOTORS AMERICA, INC.
Fig 31: Blower & A/C (Manual)
G00262930Courtesy of KIA MOTORS AMERICA, INC.
Fig 32: Blower & A/C (Automatic)
G00262931Courtesy of KIA MOTORS AMERICA, INC.
Fig 33: Transaxle Control System (2.7L)
G00262932Courtesy of KIA MOTORS AMERICA, INC.
Fig 34: Transaxle Control System (2.7L)
G00262933Courtesy of KIA MOTORS AMERICA, INC.
Fig 35: Electronic Time & Alarm Control (ETACS) System
G00262934Courtesy of KIA MOTORS AMERICA, INC.
Fig 36: Electronic Time & Alarm Control (ETACS) System
G00262935Courtesy of KIA MOTORS AMERICA, INC.
Fig 37: Keyless Entry System
G00262936Courtesy of KIA MOTORS AMERICA, INC.
Fig 38: Illumination, Cigar Lighter & Clock
G00262938Courtesy of KIA MOTORS AMERICA, INC.
Fig 39: Audio
G00262939Courtesy of KIA MOTORS AMERICA, INC.
Fig 40: Audio Amplifier
G00262940Courtesy of KIA MOTORS AMERICA, INC.
Fig 41: Power Windows
G00262941Courtesy of KIA MOTORS AMERICA, INC.
Fig 42: Power Door Locks
G00262942Courtesy of KIA MOTORS AMERICA, INC.
Fig 43: Power Mirrors
G00262943Courtesy of KIA MOTORS AMERICA, INC.
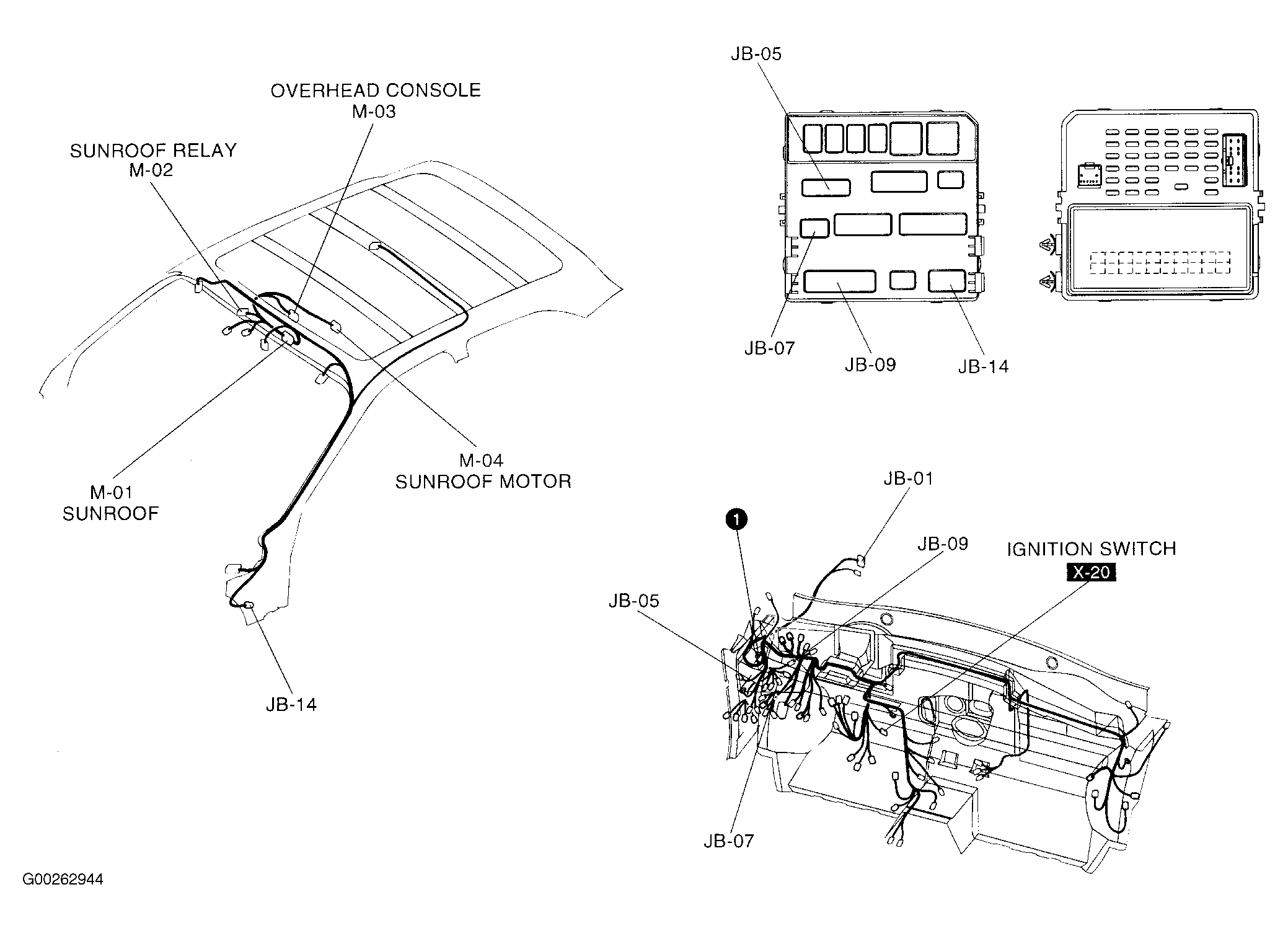
Fig 44: Sunroof
G00262944Courtesy of KIA MOTORS AMERICA, INC.
Fig 45: Electronic Power Steering (EPS) System
G00262945Courtesy of KIA MOTORS AMERICA, INC.
Fig 46: Anti-Lock Brake (ABS) System
G00262946Courtesy of KIA MOTORS AMERICA, INC.
Fig 47: Power Seat (Driver's)
G00262947Courtesy of KIA MOTORS AMERICA, INC.
Fig 48: Power Seat (Passenger's)
G00262948Courtesy of KIA MOTORS AMERICA, INC.
Fig 49: Cruise Control System
G00262949Courtesy of KIA MOTORS AMERICA, INC.
Fig 50: Airbag System
G00262950Courtesy of KIA MOTORS AMERICA, INC.
Fig 51: Fuel & Trunk Lid Opener
G00262951Courtesy of KIA MOTORS AMERICA, INC.
Fig 52: Data Link Connector
G00262952Courtesy of KIA MOTORS AMERICA, INC.
Fig 53: Engine Compartment Fuse/Relay Box
G00354168Courtesy of KIA MOTORS AMERICA, INC.