lemon-mirror:
Home >> Kia >> 2004 >> Sorento EX, RWD >> Repair and Diagnosis >> Body & Frame >> Power Windows >> Power Window Switch >> Inspection >> Power Window Sub Switch

Power Window Sub Switch

Fig 1: Checking Power Window Sub Switch Operation
G02201807Courtesy of KIA MOTORS AMERICA, INC.
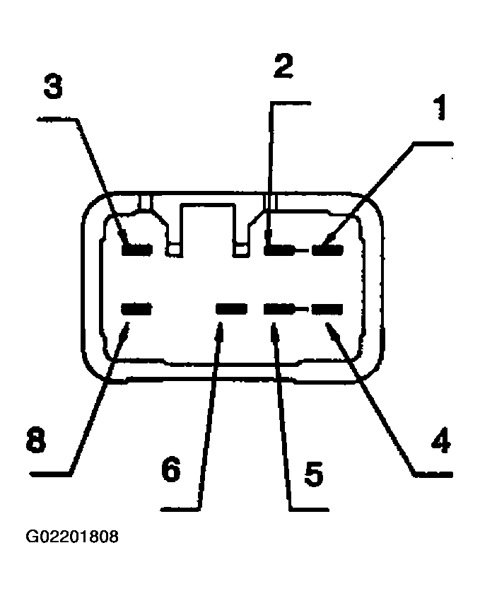
Fig 2: Identifying Power Window Sub Switch Pin Outs
G02201808Courtesy of KIA MOTORS AMERICA, INC.