lemon-mirror:
Home >> Kia >> 2004 >> Spectra Base, 1.8 1, Automatic >> Repair and Diagnosis >> Body & Frame >> Door Locks >> Keyless Entry System >> Receiver >> Functions >> Anti-Theft Function >> Alarm Clearance

Alarm Clearance

  1. When choosing LOCK on the RKE (Remote Keyless Entry) either during or after alarm activation, the alarm is cleared.
  2. When choosing UNLOCK on the RKE either during or after alarm activation, the alarm is cleared.
  3. When choosing TRUNK OPEN on the RKE either during or after alarm activation, the alarm is cleared.
  4. When using key UNLOCK either during or after alarm activation, the alarm is cleared.
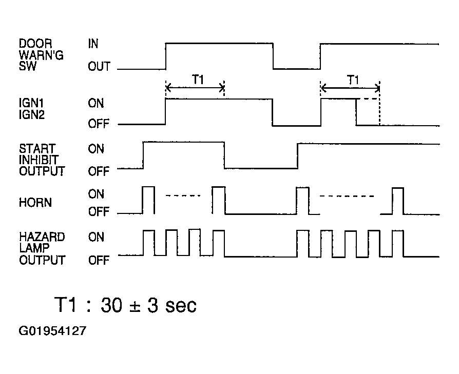
  5. If the ignition key is turned to ON for 30 seconds either during or after alarm activation the alarm will be cleared and the start inhibitor reset.
  6. If during an alarm sequence the ignition key is turned ON and then OFF within 30 seconds, the alarm will continue. See 5)
    Fig 1: Illustrating Alarm Clearance Function Chart
    G01954127Courtesy of KIA MOTORS AMERICA, INC.