lemon-mirror:
Home >> Kia >> 2004 >> Spectra Base, 1.8 2, Automatic >> Repair and Diagnosis >> Engine Performance >> System >> Engine Control System/Fuel System - 1.8L >> MFI Control System Components >> Throttle Position (TP) Sensor >> Inspection

Throttle Position (TP) Sensor: Inspection

  1. Disconnect connector from throttle position sensor.
  2. Connect ohmmeter between sensor terminals 1 and 3.
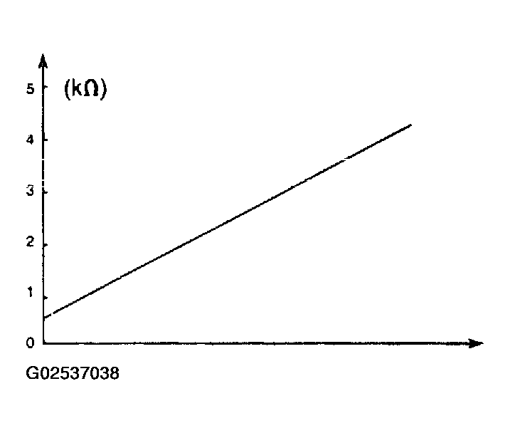
  3. Verify that resistance increases linearly according to throttle angle.

    Specification: 2 kΩ +/- 0.4 KΩ (with throttle valve closed) 

    Fig 1: Illustrating Throttle Position Sensor Connector
    G02537037Courtesy of KIA MOTORS AMERICA, INC.
  4. If resistance is not as specified, replace the throttle position sensor.
  5. Connect throttle position sensor connector.
    Fig 2: TPS Resistance Chart
    G02537038Courtesy of KIA MOTORS AMERICA, INC.