lemon-mirror:
Home >> Kia >> 2005 >> Amanti >> Repair and Diagnosis >> Electrical >> Component Locations >> Electrical Component Locator >> Component Location Graphics

Component Location Graphics

NOTE: Figures may show multiple component locations. Refer to appropriate table for proper figure references.
Fig 1: Ground Points
G00262840Courtesy of KIA MOTORS AMERICA, INC.
Fig 2: Ground Points
G00366216Courtesy of KIA MOTORS AMERICA, INC.
Fig 3: Starting & Charging System
G00262842Courtesy of KIA MOTORS AMERICA, INC.
Fig 4: Engine/Transaxle Control System
G00262843Courtesy of KIA MOTORS AMERICA, INC.
Fig 5: Engine/Transaxle Control System
G00262844Courtesy of KIA MOTORS AMERICA, INC.
Fig 6: Engine/Transaxle Control System
G00262845Courtesy of KIA MOTORS AMERICA, INC.
Fig 7: Engine/Transaxle Control System
G00262846Courtesy of KIA MOTORS AMERICA, INC.
Fig 8: Engine/Transaxle Control System
G00262847Courtesy of KIA MOTORS AMERICA, INC.
Fig 9: Engine/Transaxle Control System
G00262848Courtesy of KIA MOTORS AMERICA, INC.
Fig 10: Engine/Transaxle Control System
G00262849Courtesy of KIA MOTORS AMERICA, INC.
Fig 11: Cooling System
G00262850Courtesy of KIA MOTORS AMERICA, INC.
Fig 12: Electronic Throttle System
G00366217Courtesy of KIA MOTORS AMERICA, INC.
Fig 13: Instrument Cluster & Warning Lamps
G00262852Courtesy of KIA MOTORS AMERICA, INC.
Fig 14: Instrument Cluster & Warning Lamps
G00262853Courtesy of KIA MOTORS AMERICA, INC.
Fig 15: Trip Computer
G00262854Courtesy of KIA MOTORS AMERICA, INC.
Fig 16: Wiper/Washer System
G00262855Courtesy of KIA MOTORS AMERICA, INC.
Fig 17: Headlights
G00262856Courtesy of KIA MOTORS AMERICA, INC.
Fig 18: Headlights (HID)
G00262857Courtesy of KIA MOTORS AMERICA, INC.
Fig 19: Headlights, Fog Lights
G00262858Courtesy of KIA MOTORS AMERICA, INC.
Fig 20: Tail Lights
G00366219Courtesy of KIA MOTORS AMERICA, INC.
Fig 21: Headlight, Leveling Device (HLLD)
G00262860Courtesy of KIA MOTORS AMERICA, INC.
Fig 22: Headlight Washer (Canada)
G00366220Courtesy of KIA MOTORS AMERICA, INC.
Fig 23: Turn & Hazard Flasher Unit
G00262862Courtesy of KIA MOTORS AMERICA, INC.
Fig 24: Stop Lights, Back-Up Lights, ECM Mirror, Inside ECM Home Link
G00262863Courtesy of KIA MOTORS AMERICA, INC.
Fig 25: Horns
G00262864Courtesy of KIA MOTORS AMERICA, INC.
Fig 26: Heater & A/C System
G00262865Courtesy of KIA MOTORS AMERICA, INC.
Fig 27: Heater & A/C System
G00262866Courtesy of KIA MOTORS AMERICA, INC.
Fig 28: Heater & A/C System
G00262867Courtesy of KIA MOTORS AMERICA, INC.
Fig 29: Door Switches & Lights
G00262869Courtesy of KIA MOTORS AMERICA, INC.
Fig 30: Body Control System
G00262870Courtesy of KIA MOTORS AMERICA, INC.
Fig 31: Body Control System
G00366221Courtesy of KIA MOTORS AMERICA, INC.
Fig 32: Illumination Lights
G00262872Courtesy of KIA MOTORS AMERICA, INC.
Fig 33: Illumination, Glove Box Light, Clock
G00262874Courtesy of KIA MOTORS AMERICA, INC.
Fig 34: Audio, Amplifier System
G00262875Courtesy of KIA MOTORS AMERICA, INC.
Fig 35: Audio, Amplifier System
G00262876Courtesy of KIA MOTORS AMERICA, INC.
Fig 36: Power Window System
G00262879Courtesy of KIA MOTORS AMERICA, INC.
Fig 37: Power Window System
G00262880Courtesy of KIA MOTORS AMERICA, INC.
Fig 38: Power Door Lock System
G00262881Courtesy of KIA MOTORS AMERICA, INC.
Fig 39: Power Door Lock System
G00262882Courtesy of KIA MOTORS AMERICA, INC.
Fig 40: Power Mirror System
G00262883Courtesy of KIA MOTORS AMERICA, INC.
Fig 41: Sunroof System
G00262884Courtesy of KIA MOTORS AMERICA, INC.
Fig 42: Electronic Power Steering (EPS) System
G00262885Courtesy of KIA MOTORS AMERICA, INC.
Fig 43: Electronic Stability Program (ESP) System
G00262886Courtesy of KIA MOTORS AMERICA, INC.
Fig 44: Electronic Stability Program (ESP) System
G00262887Courtesy of KIA MOTORS AMERICA, INC.
Fig 45: ABS & TCS
G00262888Courtesy of KIA MOTORS AMERICA, INC.
Fig 46: Power Seat (Driver)
G00262889Courtesy of KIA MOTORS AMERICA, INC.
Fig 47: Power Seat (Driver)
G00262890Courtesy of KIA MOTORS AMERICA, INC.
Fig 48: Power Seat (Passenger)
G00262891Courtesy of KIA MOTORS AMERICA, INC.
Fig 49: Seat Warmer (Front)
G00262892Courtesy of KIA MOTORS AMERICA, INC.
Fig 50: Seat Warmer (Rear)
G00262893Courtesy of KIA MOTORS AMERICA, INC.
Fig 51: Airbag System
G00366222Courtesy of KIA MOTORS AMERICA, INC.
Fig 52: Airbag System
G00262895Courtesy of KIA MOTORS AMERICA, INC.
Fig 53: Defroster
G00262896Courtesy of KIA MOTORS AMERICA, INC.
Fig 54: Trunk & Fuel Lid Opener
G00366224Courtesy of KIA MOTORS AMERICA, INC.
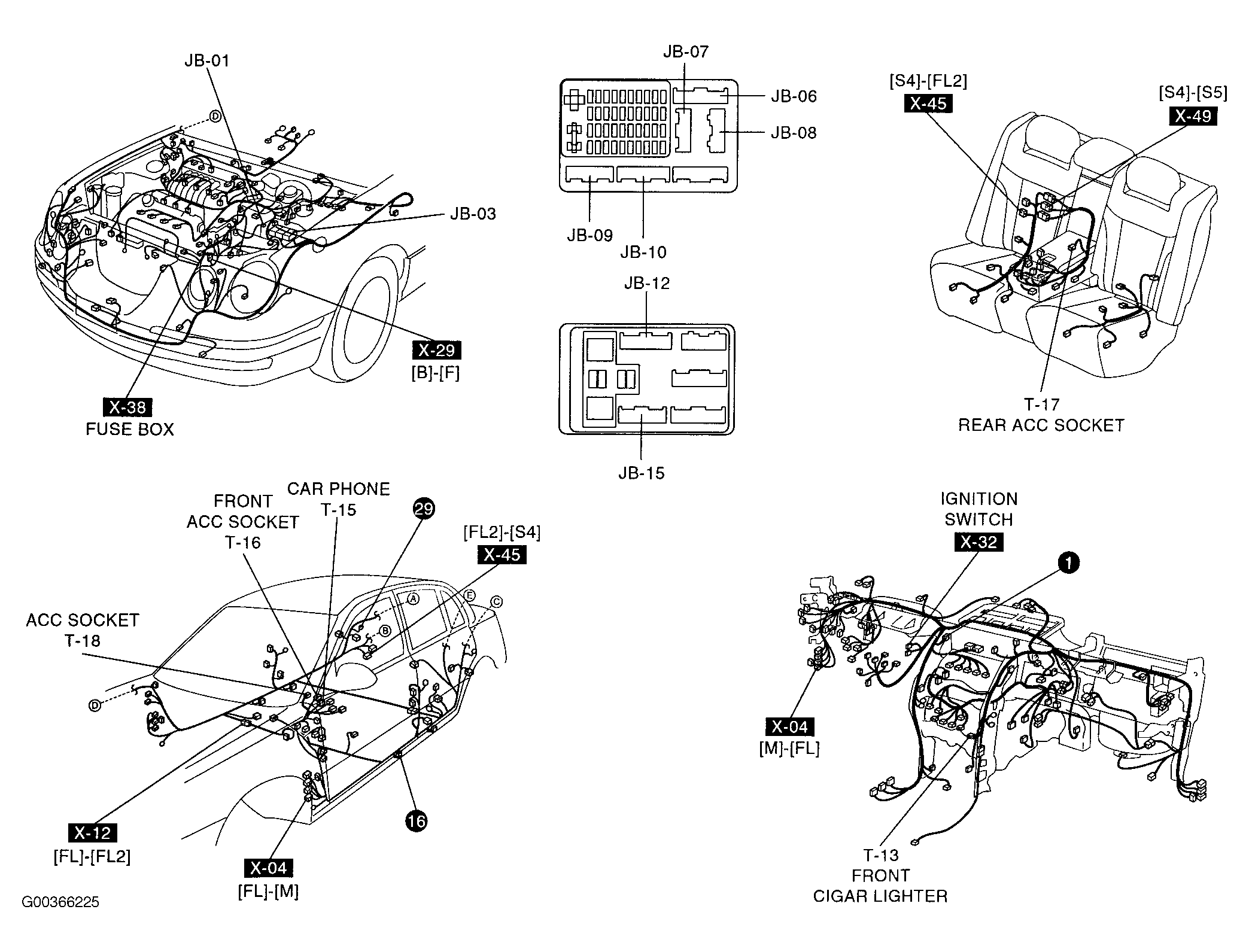
Fig 55: Cigar Lighter, Accessory Socket, Car Phone
G00366225Courtesy of KIA MOTORS AMERICA, INC.
Fig 56: Data Link Connector
G00262899Courtesy of KIA MOTORS AMERICA, INC.
Fig 57: Airbag System
G00366223Courtesy of KIA MOTORS AMERICA, INC.