lemon-mirror:
Home >> Kia >> 2005 >> Optima EX, 2.7 8 >> Repair and Diagnosis >> Engine Performance >> Engine Control Systems >> Engine Control System/Fuel System - 2.7L >> MFI Control System >> Mass Air Flow (MAF) Sensor >> Notes

Mass Air Flow (MAF) Sensor: Notes

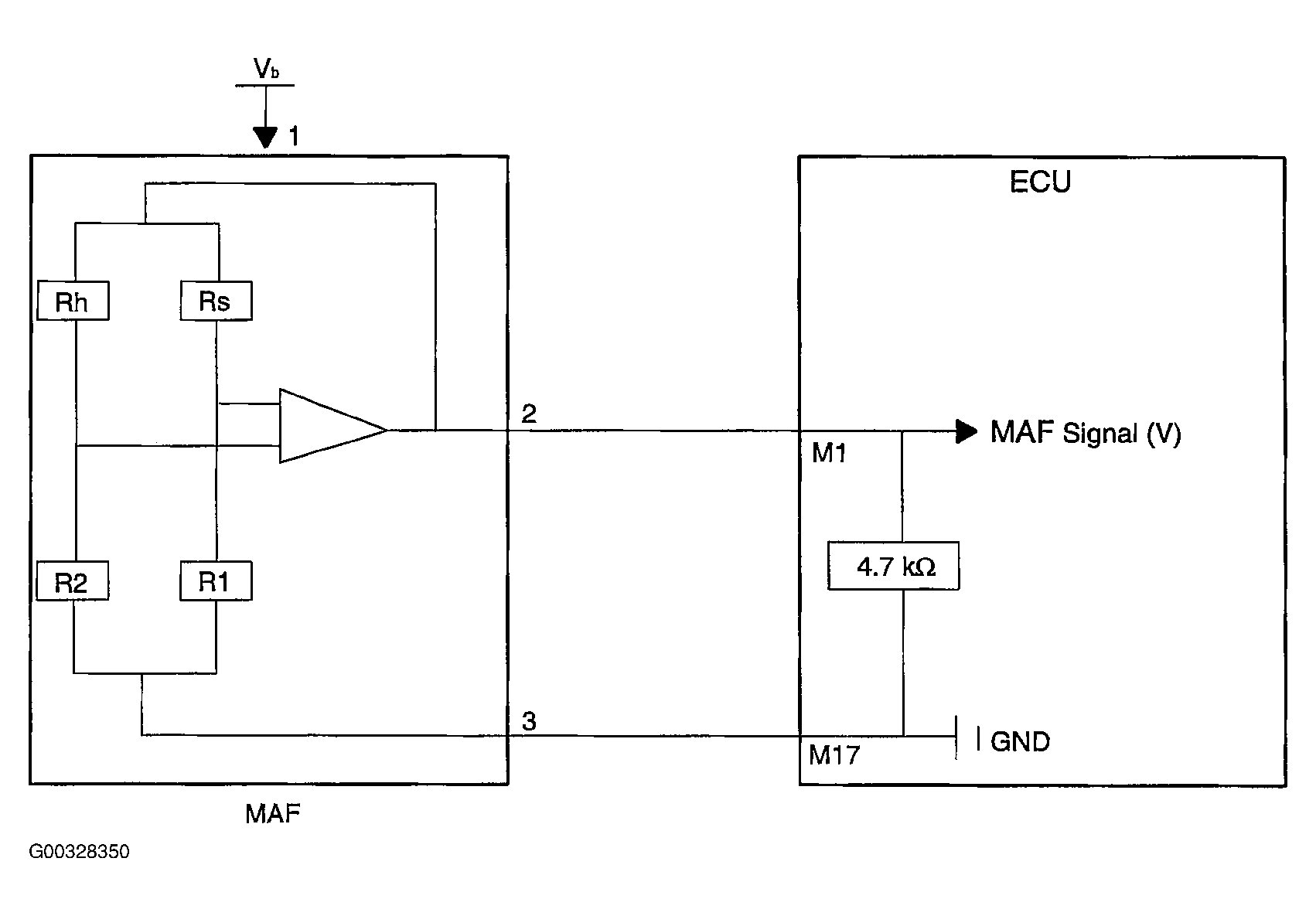
This hot film type Mass Air Flow (MAF) Sensor is composed of a hot film sensor, housing and metering duct (hybrid sensor element). Mass air flow rate is measured by detection of heat transfer from a hot film probe because the change of the mass air flow rate causes a change in the amount of heat being transferred from the hot film probe surface to the air flow. The mass air flow sensor generates a pulse so it repeatedly opens and closes between the 5V voltage supplied from the ECU.

This results in the change of the temperature of the hot film probe and in the change of resistance.

Fig 1: Locating Mass Air Flow (MAF) Sensor
G00328350Courtesy of KIA MOTORS AMERICA, INC.